Запчасти John Deere 200LC, 330LC, 370 16 - HEAVY DUTY ALTERNATOR 0423 Alternator And Generator Mounting

Схема запчастей John Deere 200LC, 330LC, 370 - 16 - HEAVY DUTY ALTERNATOR 0423 Alternator And Generator Mounting
FIT
1:1
100%

Артикул

Название

Примечание

Количество

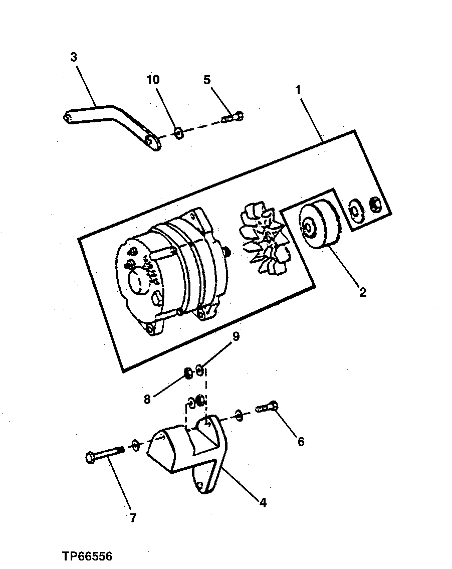
1

TY25955

Alternator

NLA (ORDER SE501348) (SU B FOR AT208541 OR TY6794)

1шт.

SE501348

Alternator

(REMAN FOR AT208541OR TY25955)

1шт.

2

R128859

Pulley

1шт.

3

FFSB102867

Strap

1шт.

4

R500607

Strap

1шт.

5

19H2472

Cap Screw

1/2" X 1"

1шт.

6

19H2735

Cap Screw

1/2" X 2"

1шт.

7

19H3520

Cap Screw

1/2" X 3-1/4"

1шт.

8

K40014

Lock Nut

12.700 mm

2шт.

9

24H1111

Washer

17/32" X 1-1/16" X 0.090"

4шт.

10

12H301

Lock Washer

1/2"

1шт.

Выбрано товаров: 11