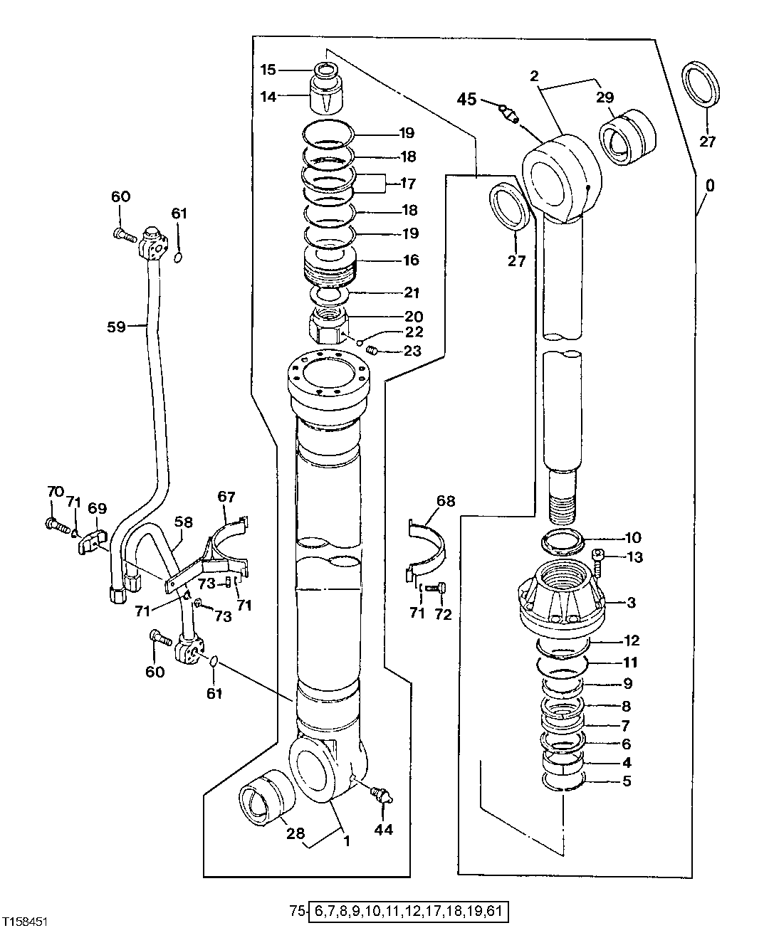
Запчасти John Deere 200LC, 330LC, 370 144 - LOG LOADER RIGHT BOOM CYLINDER (370) (SERIAL NO. -XXXXXX) 3360 HYDRAULIC SYSTEM

Схема запчастей John Deere 200LC, 330LC, 370 - 144 - LOG LOADER RIGHT BOOM CYLINDER (370) (SERIAL NO. -XXXXXX) 3360 HYDRAULIC SYSTEM
FIT
1:1
100%

Артикул

Название

Примечание

Количество

0

Cylinder

(SUB FFSB104896)(FOR CYLINDER APPLICATIONS O THER THAN LOG LOADERS SEE 330LC/370 EXCAVATOR PARTS CATALOG) (LEFT AND RIGHT CYLINDER MUST BOTH BE REPLACED AT THE SAME TIME) ( FFSB110 795 OR 9218638 NO LONGER AVAILABLE FOR SERVIC E)

1шт.

1

Tube

( FFSB102175 NO LONGER AVAILABLE FOR SERVICE)

1шт.

2

Rod

( FFSB102176 NO LONGER AVAILABLE FOR SERVICE)

1шт.

3

0420105

Cylinder Head

(SUB FOR AT201573)

1шт.

4

0352704

Bushing

(SUB FOR AT132283)

1шт.

5

0133103

Snap Ring

(SUB FOR AT127275)

1шт.

6

AT132284

Ring

1шт.

7

AT132285

Seal

1шт.

8

AT132286

Back-Up Ring

1шт.

9

AT204911

Ring

1шт.

10

AT191197

Ring

(SUB FOR AT132288)

1шт.

11

AT264240

O-Ring

(SUB FOR AT132154)

1шт.

12

AT264252

Back-Up Ring

(SUB FOR AT132399)

1шт.

13

0191412

Bolt

(SUB FOR AT217053)

8шт.

14

0420106

Bearing

(SUB FOR AT201574)

1шт.

15

0420113

Seal

1шт.

16

0420108

Piston

(SUB FOR AT201576)

1шт.

17

AT264253

Ring

(SUB FOR AT132400)

1шт.

18

AT264289

Ring

(SUB FOR AT201577)

2шт.

19

AT264248

Ring

(SUB FOR AT132175)

2шт.

20

0352713

Nut

(SUB FOR AT132292)

1шт.

21

0352714

Shim

(SUB FOR AT132293)

1шт.

22

R26552

Ball

7.938 mm

1шт.

23

H228111

Set Screw

(SUB FOR AT132294 OR 0352715)

1шт.

27

0420111

Ring

(SUB FOR AT201579)

2шт.

28

FFSB102183

Bushing

1шт.

29

0420104

Bushing

(SUB FOR AT201572)

1шт.

44

TH100074

Lubrication Fitting

1шт.

45

JD7769

Lubrication Fitting

(SUB FOR TH100364)

1шт.

58

FFSB102180

Line

1шт.

59

FFSB102179

Line

1шт.

60

19M8444

Screw

M12 X 60

8шт.

61

AT264348

O-Ring

(SUB FOR TH102788)

2шт.

67

FFSB102177

Band

1шт.

68

FFSB102178

Band

1шт.

69

4189860

Clamp

(SUB FOR TH108314)

1шт.

70

19H1930

Cap Screw

1/2" X 2-1/2"

1шт.

71

24H1111

Washer

17/32" X 1-1/16" X 0.090"

6шт.

72

19H2668

Cap Screw

1/2" X 3-1/2"

2шт.

73

K40014

Lock Nut

12.700 mm

3шт.

75

AT196471

Seal Kit

(SUB FOR AT182708 AND AT191198)

1шт.

Выбрано товаров: 41