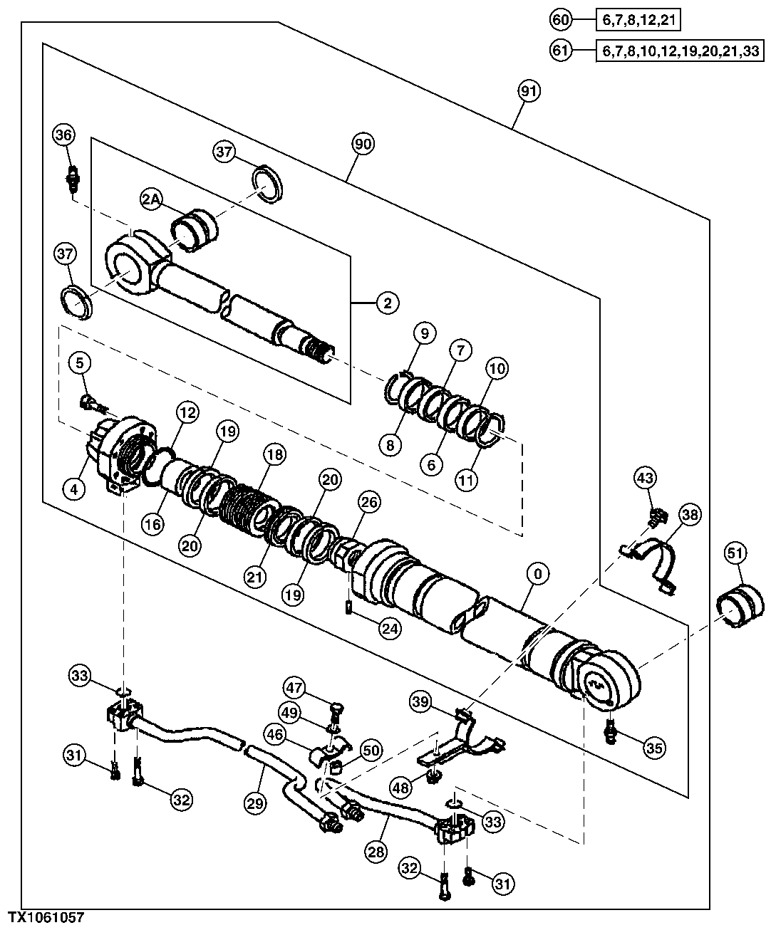
Запчасти John Deere 200LC, 330LC, 370 147 - LOG LOADER RIGHT BOOM CYLINDER(200LC)(SN 051019-XXXXXX) 3360 HYDRAULIC SYSTEM

Схема запчастей John Deere 200LC, 330LC, 370 - 147 - LOG LOADER RIGHT BOOM CYLINDER(200LC)(SN 051019-XXXXXX) 3360 HYDRAULIC SYSTEM
FIT
1:1
100%

Артикул

Название

Примечание

Количество

0

Hydraulic Cylinder Barrel

7039099 NLA

1шт.

2

Hydraulic Cylinder Rod

7039094 NLA

1шт.

2A

3042080

Bushing

1шт.

4

1015435

Hydr. Cylinder Rod Guide

SUB FOR FFSB109049

1шт.

5

19M8630

Screw

M24 X 80 SUB FOR FFSB109050

8шт.

6

AT264294

Seal

SUB FOR FFSB109051, AT217969, 4348201

1шт.

7

AT264408

Seal

SUB FOR FFSB109052, TH111216

1шт.

8

4389326

Ring

SUB FOR FFSB109053, SUB FOR AT201003 AND AT264409

1шт.

9

4369508

Ring

SUB FOR FFSB109054

1шт.

10

AT217959

Wear Ring

SUB FOR FFSB109055, 4272962

1шт.

11

4264982

Snap Ring

SUB FOR FFSB109056

1шт.

12

AT264268

O-Ring

SUB FOR FFSB109057, AT154722

1шт.

16

4264978

Spacer

SUB FOR FFSB109058

1шт.

18

3052363

Piston

SUB FOR FFSB109059

1шт.

19

AT264397

Ring

SUB FOR FFSB109060, 4185246, TH110033

2шт.

20

AT264266

Wear Ring

SUB FOR FFSB109061, 4252191

2шт.

21

AT264297

Seal

SUB FOR FFSB109062, AT218148

1шт.

24

4201805

Set Screw

SUB FOR FFSB109063

1шт.

26

3063059

Nut

SUB FOR FFSB109064

1шт.

28

Line

8081547 NLA, SUB FOR FFSB109066

1шт.

29

8081545

Line

SUB FOR FFSB109065

1шт.

31

19M8341

Screw

M12 X 45 SUB FOR FFSB107236

4шт.

32

19M8444

Screw

M12 X 60 SUB FOR FFSB107237

4шт.

33

AT264324

O-Ring

SUB FOR FFSB107238, TH100044

2шт.

35

TH100074

Lubrication Fitting

SUB FOR FFSB107233

1шт.

36

JD7769

Lubrication Fitting

SUB FOR TH100364

1шт.

37

TH102411

Seal

SUB FOR FFSB109384

2шт.

38

3049761

Clamp

SUB FOR FFSB109068

1шт.

39

8081558

Clamp

SUB FOR FFSB109069

1шт.

43

19M7550

Cap Screw

M10 X 35 SUB FOR FFSB107241

2шт.

12M7066

Lock Washer

10 mm

2шт.

46

4443497

Clamp

SUB FOR FFSB109070

1шт.

47

19M8348

Cap Screw

M12 X 65 SUB FOR FFSB107244

1шт.

48

14M7275

Nut

M12 SUB FOR FFSB107245

1шт.

49

12H301

Lock Washer

1/2" SUB FOR FFSB107139

1шт.

50

4410980

Spacer

SUB FOR FFSB107243

1шт.

51

FFSB106710

Bushing

1шт.

60

9180587

Hydraulic Cylinder Kit

SUB FOR 9161917, SUB FOR AT218042

1шт.

61

AT264437

Hydraulic Cylinder Kit

1шт.

90

Hydraulic Cylinder

SUB 4656437, FOR CYLINDER APPLICATONS O THER THAN LOG LOADERS SEE 200LC EXCAVATO R PARTS CATALOG, 9218634, FFSB110793 NLA

1шт.

91

Hydraulic Cylinder

SUB 4641543, FOR CYLINDER APPLICATIO NS OTHER THAN LOG LOADERS SEE 200LC E XCAVATOR PARTS CATALOG, FFSB104898 NL A

1шт.

Выбрано товаров: 0