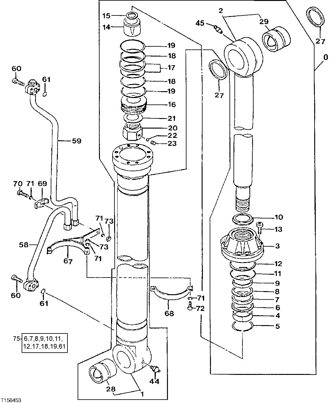
Запчасти John Deere 200LC, 330LC, 370 149 - Log Loader Left Boom Cylinder (330LC) (SERIAL NO. -XXXXXX) 3360 HYDRAULIC SYSTEM

Схема запчастей John Deere 200LC, 330LC, 370 - 149 - Log Loader Left Boom Cylinder (330LC) (SERIAL NO. -XXXXXX) 3360 HYDRAULIC SYSTEM
FIT
1:1
100%

Артикул

Название

Примечание

Количество

0

Cylinder

SUB FFSB104895, FOR CYLINDER APPLICATI ONS OTHER THAN LOG LOADERS SEE 330LC/37 0 EXCAVATOR PARTS CATALOG) (LEFT AND RI GHT CYLINDERS MUST BOTH BE REPLACED AT THE SAME TIME, FFSB110795 OR 9218638 NL A

1шт.

1

Tube

FFSB102175 NLA

1шт.

2

Rod

FFSB102176 NLA

1шт.

3

0420105

Cylinder Head

SUB FOR AT201573

1шт.

4

0352704

Bushing

SUB FOR AT132283

1шт.

5

0133103

Snap Ring

SUB FOR AT127275

1шт.

6

AT132284

Ring

1шт.

7

AT132285

Seal

1шт.

8

AT132286

Back-Up Ring

1шт.

9

AT204911

Ring

1шт.

10

AT191197

Ring

SUB FOR AT132288

1шт.

11

AT264240

O-Ring

SUB FOR AT132154

1шт.

12

AT264252

Back-Up Ring

SUB FOR AT132399

1шт.

13

0191412

Bolt

SUB FOR AT217053

8шт.

14

0420106

Bearing

SUB FOR AT201574

1шт.

15

0420113

Seal

1шт.

16

0420108

Piston

SUB FOR AT201576

1шт.

17

AT264253

Ring

SUB FOR AT132400

1шт.

18

AT264289

Ring

SUB FOR AT201577

2шт.

19

AT264248

Ring

SUB FOR AT132175

2шт.

20

0352713

Nut

SUB FOR AT132292

1шт.

21

0352714

Shim

SUB FOR AT132293

1шт.

22

R26552

Ball

7.938 mm

1шт.

23

H228111

Set Screw

SUB FOR AT132294 OR 0352715

1шт.

27

0420111

Ring

SUB FOR AT201579 OR 4S00853

2шт.

28

FFSB102183

Bushing

1шт.

29

0420104

Bushing

SUB FOR AT201572

1шт.

44

TH100074

Lubrication Fitting

1шт.

45

JD7769

Lubrication Fitting

SUB FOR TH100364

1шт.

58

FFSB102182

Line

1шт.

59

FFSB102181

Line

1шт.

60

19M8444

Screw

M12 X 60

8шт.

61

AT264348

O-Ring

SUB FOR TH102788

2шт.

67

FFSB102177

Band

1шт.

68

FFSB102178

Band

1шт.

69

4189860

Clamp

SUB FOR TH108314

1шт.

70

19H1930

Cap Screw

1/2" X 2-1/2"

1шт.

71

24H1111

Washer

17/32" X 1-1/16" X 0.090"

6шт.

72

19H2668

Cap Screw

1/2" X 3-1/2"

2шт.

73

K40014

Lock Nut

12.700 mm

3шт.

75

AT196471

Seal Kit

SUB FOR AT182708 OR AT191198

1шт.

Выбрано товаров: 41