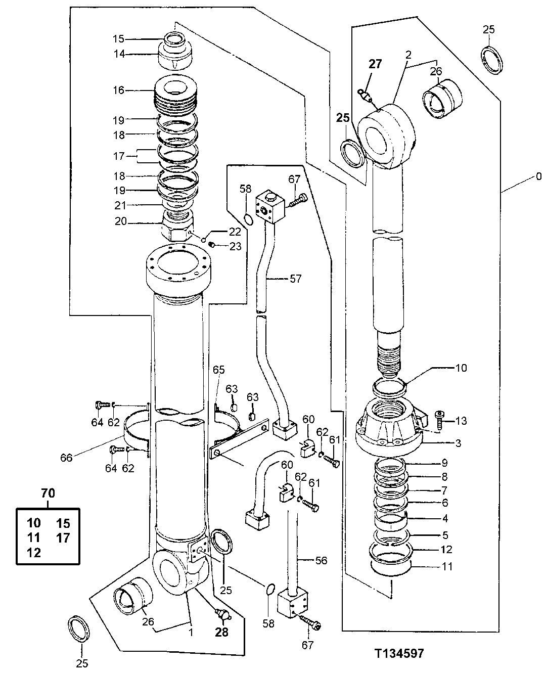
Запчасти John Deere 200LC, 330LC, 370 155 - ARM CYLINDER (330LC) (SERIAL NO. -051010) 3360 HYDRAULIC SYSTEM

Схема запчастей John Deere 200LC, 330LC, 370 - 155 - ARM CYLINDER (330LC) (SERIAL NO. -051010) 3360 HYDRAULIC SYSTEM
FIT
1:1
100%

Артикул

Название

Примечание

Количество

0

Cylinder

SUB FFSB104897; FFSB110796 OR 9218 640 NO LONGER AVAILABLE FOR SERVICE

1шт.

1

Hydraulic Cylinder Barrel

SUB FFSB104897; FFSB102084 NO LONGER AVAILABLE FOR SERVICE

1шт.

2

Rod

SUB FFSB104897; FFSB102085 NO LONGER AVAILABLE FOR SERVICE

1шт.

3

0420302

Rod

SUB FOR AT201581

1шт.

4

AT264250

Bushing

SUB FOR AT132313 OR 0353004

1шт.

5

0133709

Snap Ring

SUB FOR TH104999

1шт.

6

AT264251

Ring

SUB FOR 0941506, AT132 314, 0353005 OR 4S00045

1шт.

7

AT264242

Seal

SUB FOR AT132164 OR 4S00037

1шт.

8

AT264246

Back-Up Ring

SUB FOR AT132173 OR 4S00038

1шт.

9

0417605

Ring

SUB FOR AT204901, AT132 315, 0353006 OR 4S00145

1шт.

10

AT264282

Ring

SUB FOR AT132174, AT191199 OR 4437982

1шт.

11

AT264241

O-Ring

SUB FOR AT132155 OR A811180

1шт.

12

AT264243

Back-Up Ring

SUB FOR AT132168 OR 4S00079

1шт.

13

4104472

Bolt

SUB FOR AT132322

8шт.

14

0420304

Bearing

SUB FOR AT201583

1шт.

15

Seal

1шт.

16

0420306

Piston

SUB FOR AT201585

1шт.

17

T201905

Seal

SUB FOR 4S00081 OR AT132169

1шт.

18

AT264290

Ring

SUB FOR AT201586

2шт.

19

AT264245

Wear Ring

SUB FOR AT132170

2шт.

20

0353009

Nut

SUB FOR AT132318

1шт.

21

0353010

Shim

SUB FOR AT132319

1шт.

22

0353011

Ball

SUB FOR AT132320

1шт.

23

0353012

Set Screw

SUB FOR AT132321

1шт.

25

AT201578

Ring

4шт.

26

4660855

Bushing

SUB FOR AT202246 OR 0420102

2шт.

27

JD7769

Lubrication Fitting

SUB FOR TH100364

1шт.

28

FFSB103271

Lubrication Fitting

1шт.

56

FFSB102086

Oil Line

1шт.

57

FFSB102087

Oil Line

1шт.

58

AT264254

O-Ring

SUB FOR AT132423 OR 955612

2шт.

60

4190127

Clamp

SUB FOR TH108313

2шт.

61

19H2805

Cap Screw

1/2" X 3-1/4"

2шт.

62

12H301

Lock Washer

1/2"

4шт.

63

K40014

Lock Nut

12.700 mm

4шт.

64

19H1930

Cap Screw

1/2" X 2-1/2"

2шт.

65

FFSB102088

Clamp

1шт.

66

FFSB102089

Clamp

1шт.

67

19M6619

Screw

M14 X 70

8шт.

70

Seal Kit

AT191200 NLA

1шт.

71

AT302758

Seal Kit

SUB FOR AT264434; NOT ILLUSTRATED

1шт.

72

4700430

Seal Kit

SUB FOR 4438679; INCLUDES AT264251, AT264242, AT264246, AT264282 AT2642 41 AT264243, 0420310, T201905 AND A T264290; 4S00956 NLA; NOT ILLUSTRATED

1шт.

75

FFSB104897

Cylinder

1шт.

Выбрано товаров: 0