Качественные детали и логистика
Оригинальные и аналоговые запчасти с доставкой по России, Казахстану и Беларуси
©2022 PartSell ООО "Система" ИНН 2463123282 ОГРН 1212400004838
Центральный офис: г. Красноярск, Академика Киренского, д.87, пом.4
Телефон: 8 (800) 777-65-74 Email: zakaz@partsell.ru
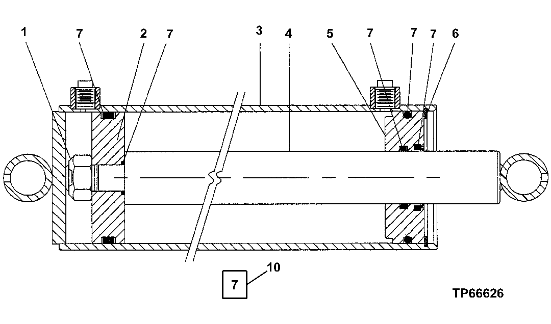
163 - LOG LOADER TILT CYLINDER
№
Артикул
Название
Примечание
Количество
1
FFSB103069
Nut
1шт.
2
FFSB103070
Rod
3
FFSB103071
Hydraulic Cylinder Barrel
4
FFSB103072
5
FFSB103073
Hydr. Cylinder Rod Guide
6
FFSB103074
Snap Ring
7
Seal
5шт.
10
FFSB102700
Seal Kit
Выбрано товаров: 0