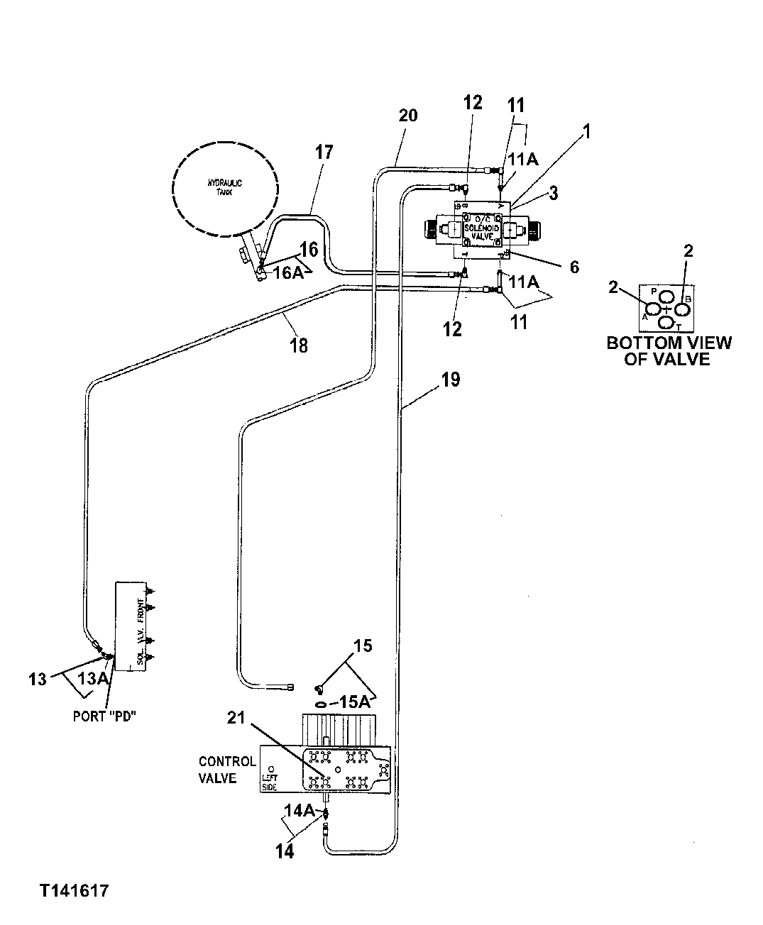
Запчасти John Deere 200LC, 330LC, 370 168 - HYDRAULIC THUMB PILOT PIPING 3360 HYDRAULIC SYSTEM

Схема запчастей John Deere 200LC, 330LC, 370 - 168 - HYDRAULIC THUMB PILOT PIPING 3360 HYDRAULIC SYSTEM
FIT
1:1
100%

Артикул

Название

Примечание

Количество

1

FFSB102383

Solenoid Valve

1шт.

2

FFSB106319

Orifice

2шт.

3

FFSB102547

Plate

1шт.

19H3070

Screw

0.190" X 1-1/4" ( FFSB10 2861 NO LONGER AVAILABLE)

4шт.

6

19H3371

Cap Screw

1/4" X 1-3/4" (SUB FOR FFSB105769)

2шт.

11

AH61439

Elbow Fitting

2шт.

11A

R26375

O-Ring

16.358 X 2.210 mm

1шт.

12

X6-8C50X-S

Elbow Fitting

(SUB FOR FFSB104941)

2шт.

13

4190244

Elbow Fitting

(SUB FOR TH106152)

1шт.

13A

CH11570

O-Ring

13.800 X 2.400 mm

1шт.

14

4200466

Adapter Fitting

(SUB FOR TH108320)

1шт.

14A

CH11570

O-Ring

13.800 X 2.400 mm

1шт.

15

4208913

Adapter Fitting

(SUB FOR AT126458)

1шт.

15A

CH11570

O-Ring

13.800 X 2.400 mm

1шт.

16

4208913

Adapter Fitting

(SUB FOR AT126458)

1шт.

16A

CH11570

O-Ring

13.800 X 2.400 mm

1шт.

17

FFSB102574

Hydraulic Hose

1шт.

18

FFSB107492

Hydraulic Hose

1шт.

19

FFSB102572

Hydraulic Hose

1шт.

20

FFSB108595

Hydraulic Hose

1шт.

21

4419373

Pressure Relief Valve

(SUB FOR FFSB105643 ) (SUB FOR AT185397

1шт.

Выбрано товаров: 0