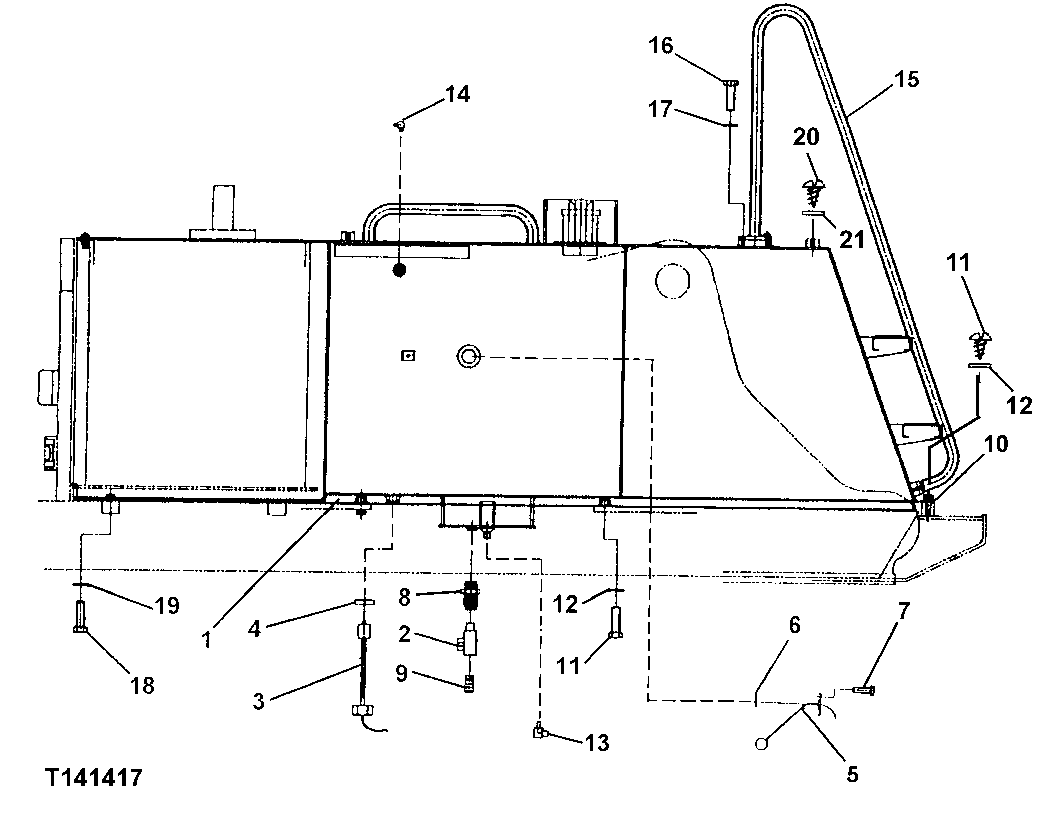
Запчасти John Deere 200LC, 330LC, 370 22 - HIGH CAPACITY FUEL TANK 0560 External Fuel Supply Systems

Схема запчастей John Deere 200LC, 330LC, 370 - 22 - HIGH CAPACITY FUEL TANK 0560 External Fuel Supply Systems
FIT
1:1
100%

Артикул

Название

Примечание

Количество

1

FFSB102029

Fuel Tank

1шт.

2

4374265

Drain Valve

(SUB FOR AT177419)

1шт.

3

4259788

Switch

(SUB FOR AT154272)

1шт.

4

4157648

Sealing Washer

(SUB FOR TH108583)

1шт.

5

4660782

Float

(SUB FOR AT154239 OR 4257128)

1шт.

6

T211051

Gasket

(SUB FOR U42323)

1шт.

7

21M7278

Screw

M5 X 10

5шт.

8

T116057

Fitting

1шт.

9

942011

Fitting Plug

(SUB FOR 94-2011 AND TH100434)

1шт.

10

FFSB102030

Strap

1шт.

11

19H1756

Cap Screw

5/8" X 1-1/2"

7шт.

12

12H294

Lock Washer

5/8"

7шт.

13

N180211

Elbow Fitting

(SUB FOR FFSB102031)

1шт.

14

T15162

Elbow Fitting

(SUB FOR FFSB102032)

1шт.

15

FFSB102034

Handrail

1шт.

16

19H1731

Cap Screw

3/8" X 1"

4шт.

17

12H304

Lock Washer

3/8"

4шт.

18

19H2508

Cap Screw

1/2" X 1-3/8"

2шт.

19

14H809

Nut

1/2"

2шт.

20

19H1895

Cap Screw

1/2" X 3/4"

4шт.

21

24H1111

Washer

17/32" X 1-1/16" X 0.090"

4шт.

Выбрано товаров: 21