Запчасти John Deere 200LC, 330LC, 370 47 - Power Converter 1674 Wiring Harness And Switches

Схема запчастей John Deere 200LC, 330LC, 370 - 47 - Power Converter 1674 Wiring Harness And Switches
FIT
1:1
100%

Артикул

Название

Примечание

Количество

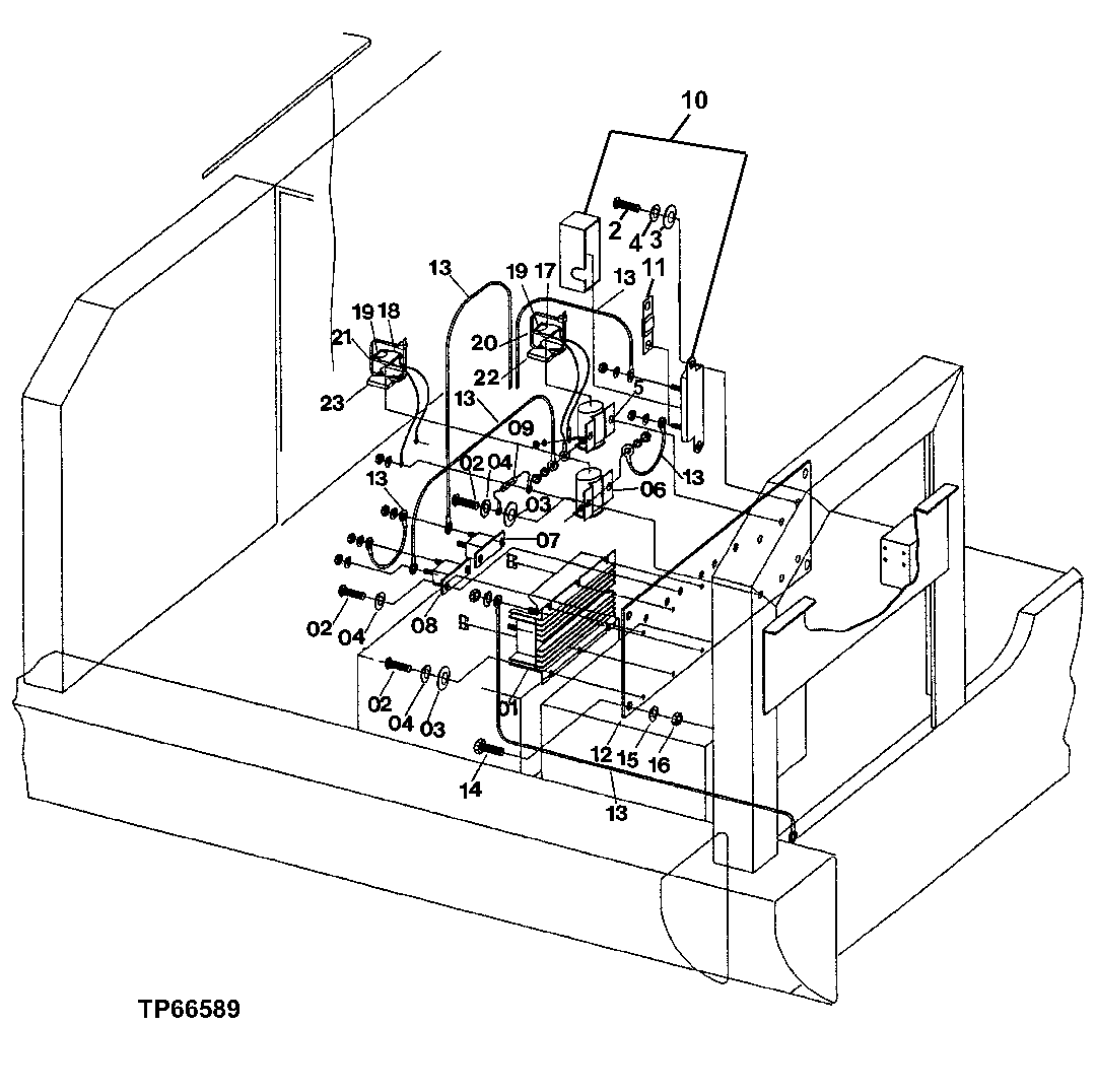
1

AT142288

Converter

1шт.

14H786

Nut

1/4" (NOT ILLUSTRATED)

2шт.

2

21H1019

Screw

0.190" X 1/2"

16шт.

3

24H1283

Washer

7/32" X 1/2" X 0.049"

12шт.

4

12H251

Lock Washer

0.190"

16шт.

5

FFSB102137

Relay

(UNITS WITH AIR HORN)

1шт.

6

FFSB103165

Relay

1шт.

7

DH400529

Circuit Breaker

(SUB FOR FFSB103166)

1шт.

8

FFSB103167

Circuit Breaker

(UNITS WITH AIR HORN)

1шт.

9

FFSB102138

Diode

(UNITS WITH AIR HORN)

1шт.

10

FFSB102484

Fuse Holder

1шт.

11

F046107

Fuse

(150 AMP) ( FFSB102461 NO LONGER AVAILABLE)

1шт.

12

FFSB103168

Panel

1шт.

FFSB103269

Panel

1шт.

13

FFSB103169

Wiring Harness

ARшт.

14

19H1900

Cap Screw

5/16" X 3/4"

4шт.

15

24H1138

Washer

1-1/16" X 2" X 0.134"

4шт.

16

12H303

Lock Washer

5/16"

4шт.

17

FFSB103171

Relay

1шт.

18

FFSB103172

Relay

(UNITS WITH AIR HORN)

1шт.

19

99M7064

Fuse

(7.5 AMP) ( FFSB103173 NO LONGER AVAILABLE)

ARшт.

20

R76477

Tie Band

(SUB FOR FFSB103133)(UNITS WITH AIR HORN)

1шт.

21

R76477

Tie Band

(SUB FOR FFSB103133)

1шт.

22

FFSB103128

Clip

(UNITS WITH AIR HORN)

1шт.

23

FFSB103128

Clip

1шт.

Выбрано товаров: 25