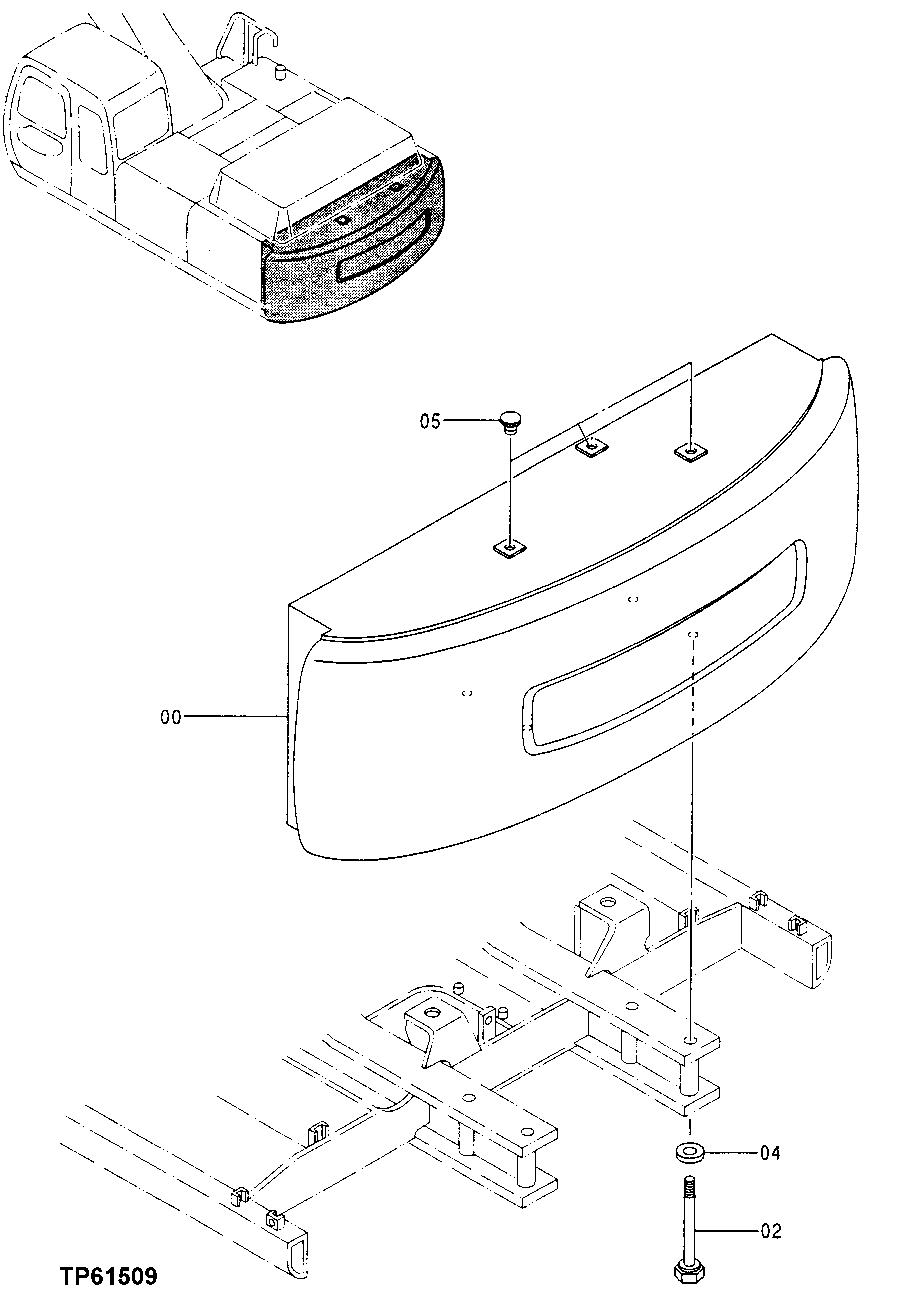
Запчасти John Deere 200LC, 330LC, 370 49 - LOG LOADER COUNTERWEIGHT 1740 Frame Installation

Схема запчастей John Deere 200LC, 330LC, 370 - 49 - LOG LOADER COUNTERWEIGHT 1740 Frame Installation
FIT
1:1
100%

Артикул

Название

Примечание

Количество

0

FFSB102004

Counterweight

(CONVENIENCE ASSEMBLY)

1шт.

FFSB105803

Weight

(CONVENIENCE ASSEMBLY)

1шт.

FFSB102005

Counterweight

(CONVENIENCE ASSEMBLY)

1шт.

FFSB105803

Weight

1шт.

FFSB103270

Counterweight

1шт.

2

AT178268

Bolt

M33 X 370

4шт.

4368611

Screw

(SUB FOR AT219698)

4шт.

4368611

Screw

(SUB FOR AT219698)

4шт.

J833022

Cap Screw

(SUB FOR AT215472)

4шт.

4

4381408P

Spacer

(SUB FOR AT178269 OR 4381408)

4шт.

4381407P

Spacer

(SUB FOR AT250024 OR 4381407)

4шт.

4381407P

Spacer

(SUB FOR AT250024 OR 4381407)

4шт.

4174859P

Washer

(SUB FOR TH103498 OR 4174859)

4шт.

5

4168132

Cap

(SUB FOR TH102874)

3шт.

4139583

Cap

(SUB FOR TH101721)

2шт.

Выбрано товаров: 0