Запчасти John Deere 00LC 132 - AIR CLEANER ATTACHMENTS 0520 INTAKE SYSTEM

Схема запчастей John Deere 00LC - 132 - AIR CLEANER ATTACHMENTS 0520 INTAKE SYSTEM
FIT
1:1
100%

Артикул

Название

Примечание

Количество

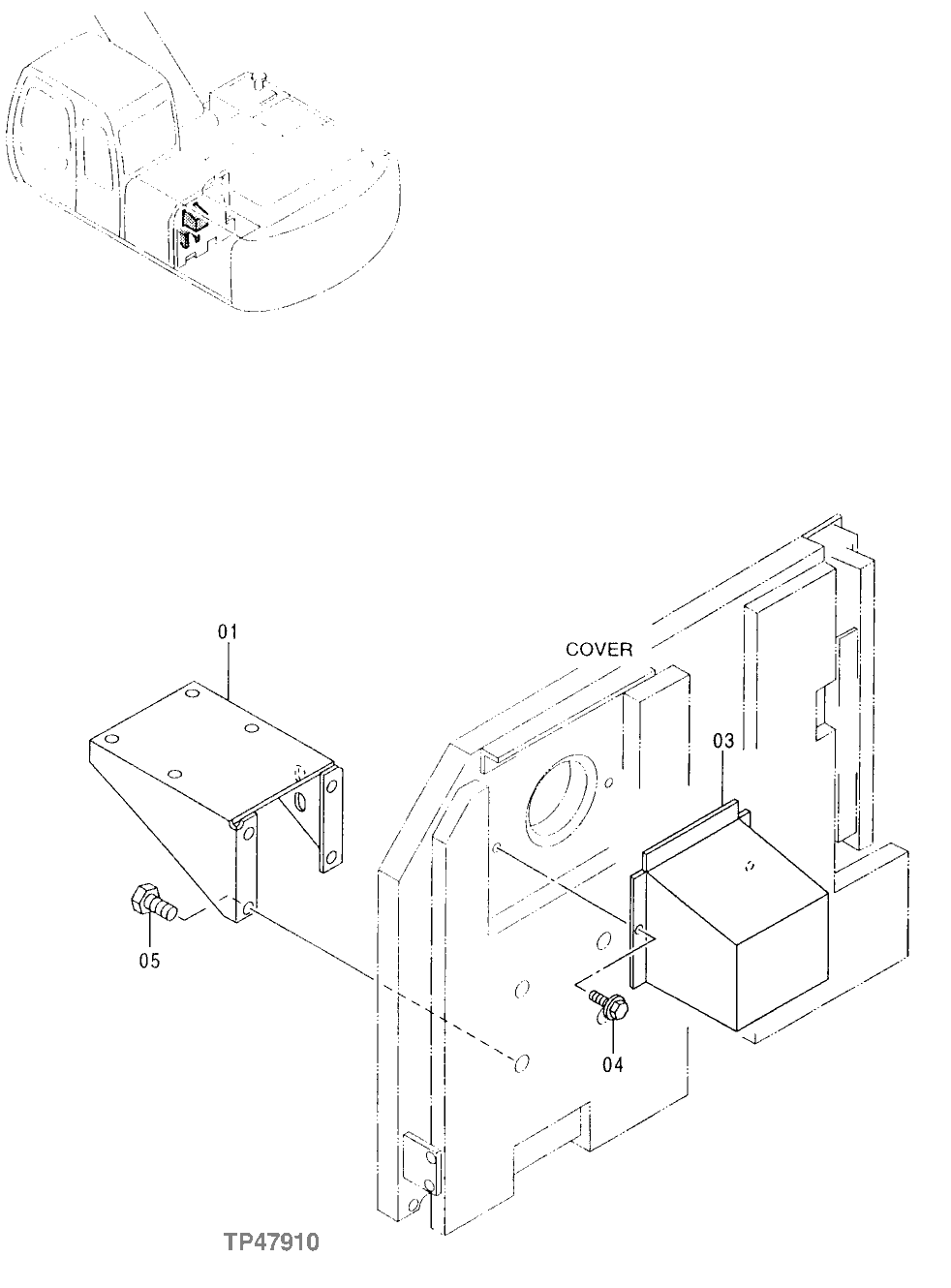
1

Bracket

1шт.

3

Cover

1шт.

4

Washer

12M7065 NLA

2шт.

19M7932

Cap Screw

M8 X 16 SUB FOR 19M7162

2шт.

5

19M7662

Cap Screw

M10 X 30

4шт.

12M7066

Lock Washer

10 mm

4шт.

24M7028

Washer

10.500 X 20 X 2 mm

4шт.

Выбрано товаров: 7