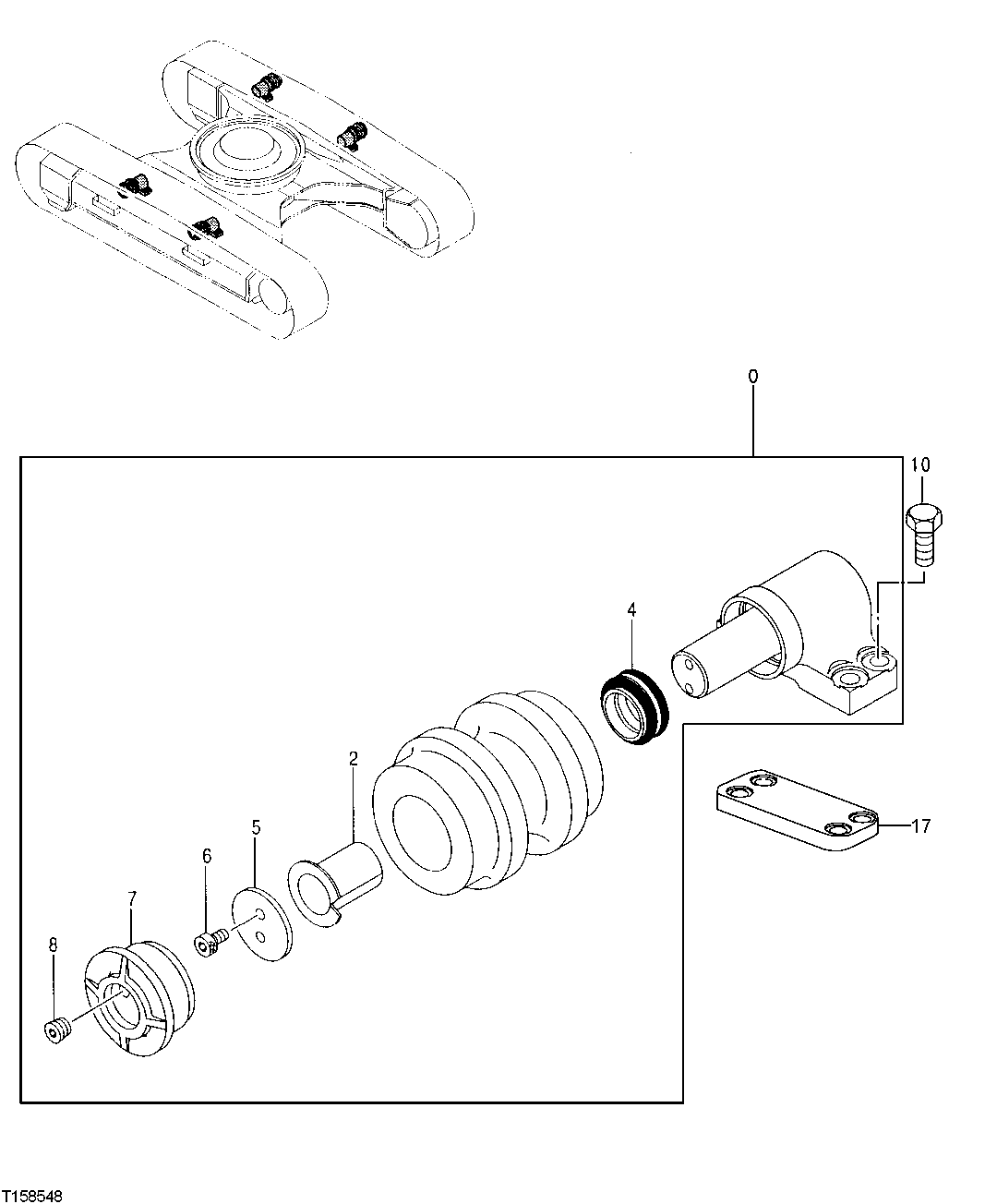
Запчасти John Deere 00LC 5 - UPPER ROLLER (SERIAL NO. -500004) ( - 500004) 0130 TRACK SYSTEMS

Схема запчастей John Deere 00LC - 5 - UPPER ROLLER (SERIAL NO. -500004) ( - 500004) 0130 TRACK SYSTEMS
FIT
1:1
100%

Артикул

Название

Примечание

Количество

0

Roller

(SUB AP34667) (ALSO ORDER 4334245 A ND (4) 19M8295 ) (SUB FOR AT214385)

4шт.

2

4172348

Bushing

(SUB FOR TH108089)

1шт.

4

4317584

Seal

(SUB FOR AT213828)

1шт.

5

T210827

Thrust Washer

(SUB FOR AT131375 OR 4282842)

1шт.

6

M351018

Bolt

M10 X 18 (SUB FOR AT131372)

2шт.

7

Cover

(SUB FOR AT213764)( 3070078 NOT AVAILABLE FOR SERVICE)

1шт.

8

942011

Fitting Plug

(SUB FOR 94-2011 AND TH100434)

1шт.

10

19M8295

Cap Screw

M16 X 55 (USE WITH 4334245 SPACER)

16шт.

19M7488

Cap Screw

M16 X 40 (USE WITHOUT 4334245 SPACER)

16шт.

17

4334245

Spacer

4шт.

Выбрано товаров: 10