Запчасти John Deere 00LC 155 - ELECTRIC PARTS ( - 500001) 1674 WIRING HARNESS AND SWITCHES

Схема запчастей John Deere 00LC - 155 - ELECTRIC PARTS ( - 500001) 1674 WIRING HARNESS AND SWITCHES
FIT
1:1
100%

Артикул

Название

Примечание

Количество

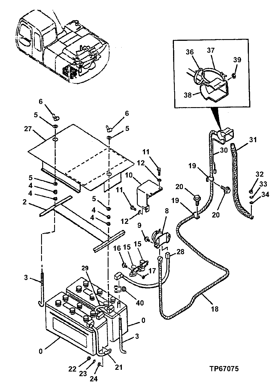
0

TY23020

Dry Charged Battery

(SUB FOR AT147284 OR TY21709 ) ( ALSO ORDER (2) TY15733)(12 VOLT)

2шт.

2

AT219489

Support

1шт.

3

4257034

Hook Bolt

(SUB FOR AT155273)

2шт.

4

14M7274

Nut

M10

4шт.

5

24M7028

Washer

10.500 X 20 X 2 mm

4шт.

6

14M7025

Wing Nut

M10

2шт.

8

4S00204

Relay

(SUB FOR TH109640)(BATTERY)

1шт.

9

21M7288

Screw

M6 X 10

2шт.

10

3056019

Cover

(SUB FOR AT154139)

1шт.

11

19M7932

Cap Screw

M8 X 16

3шт.

12

24M7055

Washer

8.400 X 16 X 1.600 mm

3шт.

15

AT145341

Relay

2шт.

16

19M7077

Cap Screw

M6 X 20

4шт.

12M7006

Lock Washer

6 mm

4шт.

24M7293

Washer

6.500 X 13 X 1.600 mm

4шт.

17

14M7272

Nut

M6

4шт.

18

4373215

Battery Cable

(SUB FOR AT215098)(STA RTER TO BATTERY RELAY)

1шт.

19

T28949

Clamp

(SUB FOR TH108460 OR 4190273)

2шт.

20

19M7938

Cap Screw

M10 X 20

2шт.

12M7066

Lock Washer

10 mm

2шт.

21

AR45925

Battery Cable

482.600 mm (19") (GROUND STRAP)

1шт.

22

14M7274

Nut

M10

1шт.

23

12M7066

Lock Washer

10 mm

1шт.

24

24M7028

Washer

10.500 X 20 X 2 mm

1шт.

27

AT219488

Cover

1шт.

28

4367870

Cable

(SUB FOR AT217804)(BAT TERY TO BATTERY RELAY)

1шт.

29

4350736

Battery Cable

(SUB FOR AT213948)(BATTERY TO BATTERY)

1шт.

30

4448296

Wiring Harness

(SUB FOR AT155617)(STARTER)

1шт.

31

AT38449

Ground Cable

1шт.

AT189092

Strap

GROUND

1шт.

32

14M7274

Nut

M10

1шт.

33

12M7066

Lock Washer

10 mm

1шт.

34

12M7066

Lock Washer

10 mm

1шт.

36

H77698

Tie Band

1шт.

37

H77698

Tie Band

1шт.

38

Cover

(STARTER)

1шт.

39

Nut

1шт.

40

AT219485

Clamp

(ON BATTERY TERMINALS)

4шт.

Выбрано товаров: 38