Запчасти John Deere 00LC 22 - BRAKE VALVE 0260 HYDRAULIC SYSTEM

Схема запчастей John Deere 00LC - 22 - BRAKE VALVE 0260 HYDRAULIC SYSTEM
FIT
1:1
100%

Артикул

Название

Примечание

Количество

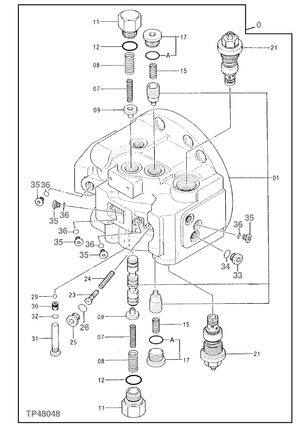
0

9149086

Flow Control Hyd. Valve

(SUB FOR AT214459)(PRO PEL MOTOR BRAKE VALVE)

1шт.

1

Housing

( 7030762 NLA)

1шт.

7

4261491

Compression Spring

(SUB FOR AT154761)

2шт.

8

4261492

Compression Spring

(SUB FOR AT154762)

2шт.

9

4275279

Stop

(SUB FOR AT154783)

2шт.

11

4275287

Plug

(SUB FOR AT154785)

2шт.

12

AT318035

O-Ring

(SUB FOR 4506424, TH100055)

2шт.

15

4365007

Spring

(SUB FOR AT176033)

2шт.

17

9089488

Plug

(SUB FOR AT154847)

2шт.

17A

AT318035

O-Ring

(SUB FOR 4506424, TH100055)

1шт.

21

9134147

Pressure Relief Valve

(SUB FOR AT204850)

2шт.

23

4354415

Valve Spool

(SUB FOR AT214454)

1шт.

24

4185136

Spring

(SUB FOR T107783)

1шт.

25

0311336

Pipe Plug

(SUB FOR TH109082)

1шт.

26

CH11570

O-Ring

1шт.

29

R26552

Ball

2шт.

30

4311662

Valve Seat

(SUB FOR AT204877)

2шт.

31

4312159

Fitting Plug

(SUB FOR AT204878)

2шт.

32

M800650

Packing

2шт.

33

4208977

Drain Plug

(SUB FOR TH111351)

2шт.

34

M800650

Packing

2шт.

35

0215220

Fitting Plug

(SUB FOR TH101485)

5шт.

36

4506408

O-Ring

(SUB FOR TH101490)

5шт.

Выбрано товаров: 23