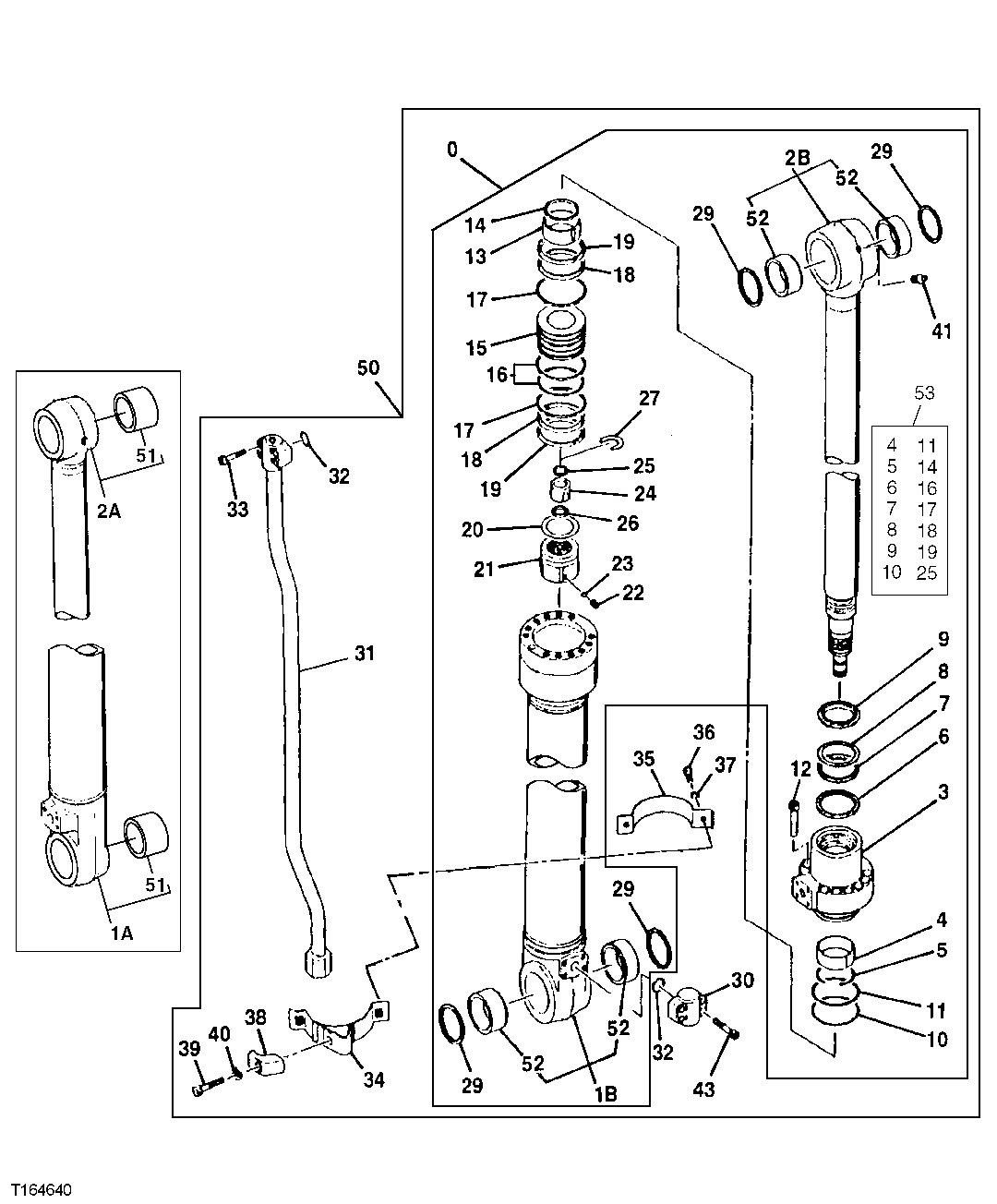
Запчасти John Deere 00LC 350 - Arm Cylinder 3360 HYDRAULIC SYSTEM

Схема запчастей John Deere 00LC - 350 - Arm Cylinder 3360 HYDRAULIC SYSTEM
FIT
1:1
100%

Артикул

Название

Примечание

Количество

0

Hydraulic Cylinder

SUB FOR AH148451, SUB AH165675 IF REPLA CING WHOLE CYLINDER SUB TO NEW CYLINDER

1шт.

AH165675

Hydraulic Cylinder

1шт.

1A

Hydraulic Cylinder Barrel

USE WITH AH148451, AH148452 NLA

1шт.

1B

AH165679

Hydraulic Cylinder Barrel

USE WITH AH165675

1шт.

AH165679

Hydraulic Cylinder Barrel

SUB FOR PG201298

1шт.

2A

AH148500

Rod

USE WITH AH148451

1шт.

Rod

USE WITH AH148451, SUB FOR AH161880 OR AH165682

1шт.

2B

AH231041

Rod

USE WITH AH165675, SUB FOR AH165682

1шт.

Hyd Cylinder Rod Reman

PG201299 NLA; REMAN FOR AH165682

1шт.

3

H154780

Hydr. Cylinder Rod Guide

1шт.

4

T108050

Wear Ring

1шт.

5

TH102766

Snap Ring

SUB FOR 0236905

1шт.

6

AH148454

Ring

1шт.

7

H227910

Seal

SUB FOR H155308

1шт.

8

H155310

Back-Up Ring

1шт.

9

H155311

Seal

1шт.

10

A811125

O-Ring

SUB FOR AT200001

1шт.

11

0409906

Back-Up Ring

SUB FOR 4S00666

1шт.

12

19M8913

Screw

M18 X 80 SUB FOR M341880

12шт.

13

H155319

Ring

1шт.

14

H155320

Seal

1шт.

15

H155266

Piston

1шт.

16

0254305

Seal

SUB FOR AT174377

1шт.

17

H155316

Back-Up Ring

2шт.

18

H155317

Ring

2шт.

19

H155318

Ring

2шт.

20

T108063

Shim

SUB FOR 0309216

1шт.

21

H155325

Nut

1шт.

22

22M7009

Set Screw

M12 X 12

1шт.

23

T13624

Ball

7.145 mm (9/32")

1шт.

24

H155321

Spacer

1шт.

25

H155322

Seal

1шт.

26

H155329

Ring

2шт.

27

H155330

Piston Ring

1шт.

28

A853188

Adapter Fitting

USE WITH H155333 Not Illustrated

2шт.

29

TH102446

Seal

SUB FOR AH140158

4шт.

30

H155333

Shoulder Fitting

ALSO ORDER A853188, SUB FOR 0906103

1шт.

31

AH234862

Oil Line

SUB FOR 0667412 OR AH148456 P roduced Prior To October 2004

1шт.

0667415

Tube

Produced October 2004 and After

1шт.

32

AT264348

O-Ring

SUB FOR TH102788

2шт.

33

M800636

Screw

M12 X 55 USE WHEN ATTACHING TU BE FLANGE DEPTH IS 40 MM Rod En d Produced Prior To October 200 4

4шт.

19M8444

Screw

M12 X 60 USE WHEN ATTACHING TUB E FLANGE DEPTH IS 45.97 MM Rod E nd Produced Prior To October 200 4

4шт.

19M8448

Screw

M12 X 35 USE WITH 0667415 Pr oduced October 2004 and After

4шт.

34

AH148457

Clamp

1шт.

35

H155347

Clamp

1шт.

36

19M7550

Cap Screw

M10 X 35 SUB FOR AT153924

2шт.

37

12M7066

Lock Washer

10 mm

2шт.

38

0309219J

Half Clamp

SUB FOR 0309219 OR T108064

1шт.

39

19M8348

Cap Screw

M12 X 65

1шт.

40

12M7058

Lock Washer

12 mm SUB FOR TH102779 OR 12M7067

1шт.

41

TH100074

Lubrication Fitting

1шт.

43

M800636

Screw

M12 X 55 USE WHEN ATTACHING TUB E FLANGE DEPTH IS 40 MM Cap End

4шт.

19M8790

Screw

M12 X 55 USE WHEN ATTACHING TUBE FLANGE DEPTH IS 45.97 MM Cap End

4шт.

50

AT264191

Hydraulic Cylinder Reman

SUB FOR AT182448 OR AT181850 Remanufactured

1шт.

51

H157797

Bushing

USE WITH AH148451

1шт.

52

4352399

Bushing

USE WITH AH165675, SUB FOR AT213965

2шт.

53

AH148453

Seal Kit

1шт.

Выбрано товаров: 57