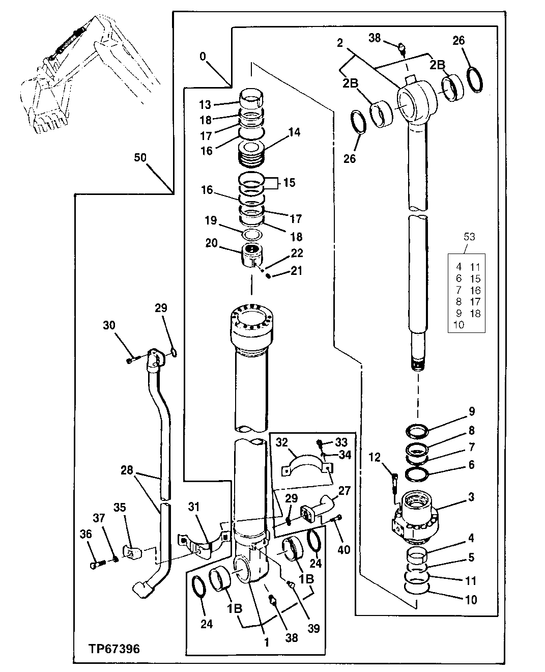
Запчасти John Deere 00LC 351 - Bucket Cylinder 3360 HYDRAULIC SYSTEM

Схема запчастей John Deere 00LC - 351 - Bucket Cylinder 3360 HYDRAULIC SYSTEM
FIT
1:1
100%

Артикул

Название

Примечание

Количество

0

AH163278

Hydraulic Cylinder Reman

SUB FOR AH148761

1шт.

1

AH165676

Hydraulic Cylinder Barrel

1шт.

AH165676

Hydraulic Cylinder Barrel

SUB FOR PG201313

1шт.

1B

4352400

Bushing

SUB FOR AT213966

2шт.

2

AH165680

Rod

1шт.

Hyd Cylinder Rod Reman

PG201315 NLA

1шт.

2B

4352398

Bushing

SUB FOR AT213964

2шт.

3

H155162

Hydr. Cylinder Rod Guide

1шт.

4

TH109311

Wear Ring

1шт.

5

TH109312

Snap Ring

SUB FOR 0240904

1шт.

6

AH148777

Ring

1шт.

7

0240911

Packing

SUB FOR TH109314 OR 4S00189

1шт.

8

0240912

Back-Up Ring

SUB FOR TH109315 OR 4S00190

1шт.

9

H155867

Seal

1шт.

10

AT264223

O-Ring

SUB FOR AT121852 OR A811105

1шт.

11

AT264259

Back-Up Ring

SUB FOR AT153829

1шт.

12

19M8930

Screw

M14 X 65

12шт.

13

H155875

Ring

1шт.

14

H155876

Piston

1шт.

15

AT264386

Ring

SUB FOR TH106872 OR 0240915

1шт.

16

AT264262

Back-Up Ring

SUB FOR 0409008 OR AT153935

2шт.

17

H155873

Back-Up Ring

2шт.

18

0298907

Ring

SUB FOR 4S00156

2шт.

19

AT153937

Shim

SUB FOR 0409010

1шт.

20

H155879

Nut

1шт.

21

22M7009

Set Screw

M12 X 12

1шт.

22

T13624

Ball

7.145 mm (9/32")

1шт.

24

TH104472

Seal

SUB FOR AH140157

2шт.

26

TH102446

Seal

SUB FOR AH140158

2шт.

27

8086114J

Oil Line

SUB FOR AT114835 OR 8086114

1шт.

28

4S00343

Line

SUB FOR AH148779

1шт.

29

AT264360

O-Ring

SUB FOR TH104930 OR 4506430

2шт.

30

19M8337

Screw

M10 X 30 Rod End

4шт.

31

AH234865

Clamp

SUB FOR AH148780

1шт.

32

0327410

Band

SUB FOR AT127333

1шт.

33

19M7550

Cap Screw

M10 X 35 SUB FOR AT153924

2шт.

34

12M7066

Lock Washer

10 mm

2шт.

35

H238070

Clamp

SUB FOR T108036

1шт.

36

19M7362

Cap Screw

M12 X 55

1шт.

12H301

Lock Washer

1/2"

1шт.

37

12M7058

Lock Washer

12 mm SUB FOR TH102779 OR 12M7067

1шт.

38

TH100074

Lubrication Fitting

2шт.

39

19M8017

Cap Screw

M12 X 20

2шт.

40

19M8337

Screw

M10 X 30 CAP END; USE WHEN ATTA CHING TUBE FLANGE DEPTH IS 18 MM

4шт.

19M8339

Screw

M10 X 55 CAP END; USE WHEN ATTAC HING TUBE FLANGE DEPTH IS 38.1 MM

4шт.

50

Hydraulic Cylinder

AT181851 NLA

1шт.

53

AH148776

Seal Kit

1шт.

Выбрано товаров: 0