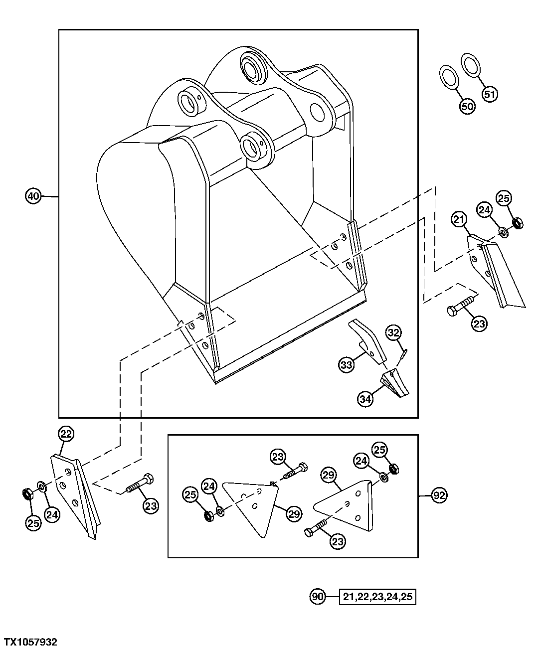
Запчасти John Deere 2054 156 - GENERAL PURPOSE HIGH CAPACITY BUCKET 3302 BUCKET WITH TEETH

Схема запчастей John Deere 2054 - 156 - GENERAL PURPOSE HIGH CAPACITY BUCKET 3302 BUCKET WITH TEETH
FIT
1:1
100%

Артикул

Название

Примечание

Количество

21

CE17748L3

End Bit

1шт.

22

CE17748R3

End Bit

1шт.

23

09H1772

Bolt

7/8" X 3-1/2"

12шт.

24

12H245

Lock Washer

7/8"

12шт.

25

14H1077

Nut

7/8"

12шт.

29

TPDE31329

Shroud

(WEAR)

2шт.

32

TK290

Pin

ARшт.

33

T158X290

Bucket Tooth Adapter

ARшт.

34

TF290

Tooth

ARшт.

40

AT339080

Excavator Bucket

(WHOLEGOODS) (24 INCH - 0.54 CUBIC YARD) (4 TEETH) (SUB FOR AT163586 OR AT332675)

1шт.

AT339082

Excavator Bucket

(WHOLEGOODS) (30 INCH - .72 CUBIC YARD) (4 TEETH) (SUB FOR AT163585 OR AT332676)

1шт.

AT339084

Excavator Bucket

(WHOLEGOODS) (36 INCH - .91 CUBIC YARD) (5 TEETH) (SUB FOR AT163587 OR AT332677)

1шт.

AT339086

Excavator Bucket

(WHOLEGOODS) (42 INCH - 1.11 CUBIC YARD) (5 TEETH) (SUB FOR AT163588 OR AT332678)

1шт.

50

T241930

Washer

85 X 140 X 1 mm (3.346" X 5.512" X 0.039") (1 MM)

ARшт.

51

T241937

Shim

(.5 MM)

ARшт.

90

AT342512

Kit

1шт.

92

AT342511

Kit

(EDGE PROTECTOR KIT)

1шт.

Выбрано товаров: 17