Запчасти John Deere 2054 184 - Auxiliary Foot Control Valve Components 3315 CONTROLS LINKAGE

Схема запчастей John Deere 2054 - 184 - Auxiliary Foot Control Valve Components 3315 CONTROLS LINKAGE
FIT
1:1
100%

Артикул

Название

Примечание

Количество

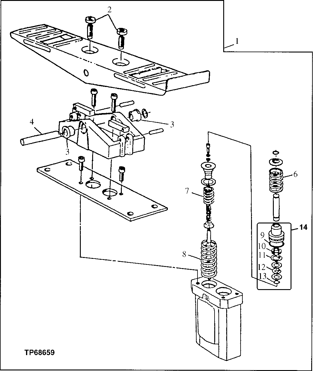
1

AT152120

Valve

Whole Goods

1шт.

2

14M7151

Nut

M8

2шт.

3

T139695

Bushing

2шт.

4

AT338999

Shaft

SUB FOR T139696

1шт.

6

T139694

Spring

2шт.

7

T139693

Spring

2шт.

8

T114617

Spring

2шт.

9

Seal

1шт.

10

Seal

1шт.

11

Snap Ring

1шт.

12

Snap Ring

1шт.

13

O-Ring

1шт.

14

AT115146

Seal Kit

1шт.

Выбрано товаров: 13