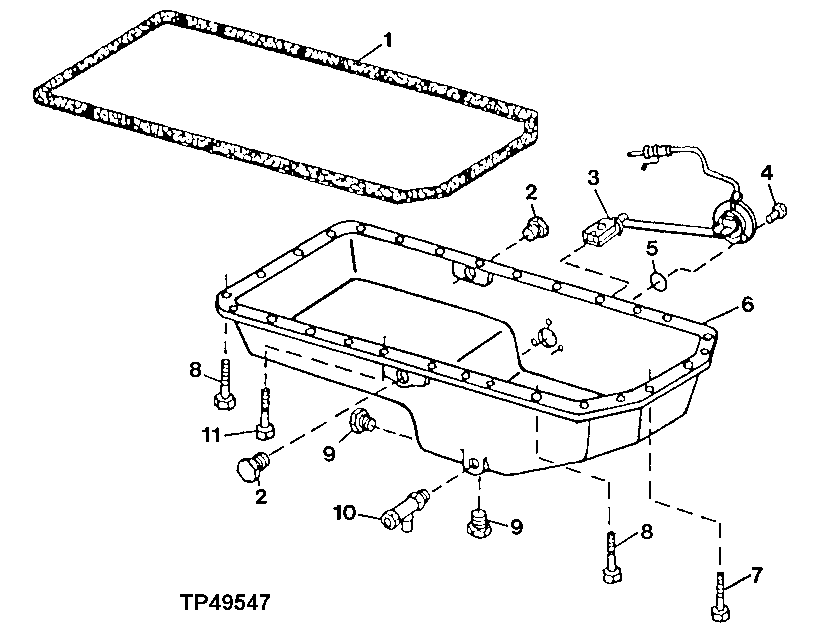
Запчасти John Deere 2054 34 - ENGINE OIL PAN WITH OIL LEVEL SENSOR (ESN -274010) ( - 274010) 0400 Engine 4045HP051-RE508144 4045HP051

Схема запчастей John Deere 2054 - 34 - ENGINE OIL PAN WITH OIL LEVEL SENSOR (ESN -274010) ( - 274010) 0400 Engine 4045HP051-RE508144 4045HP051
FIT
1:1
100%

Артикул

Название

Примечание

Количество

1

R123353

Gasket

1шт.

2

RE46687

Drain Plug

2шт.

3

RE16223

Sensor

1шт.

4

19M7560

Cap Screw

M6 X 16

3шт.

5

R47154

O-Ring

1шт.

6

R121622

Oil Pan

1шт.

7

19M7868

Screw

M8 X 30

4шт.

8

19M7867

Screw

M8 X 25

24шт.

9

RE46685

Fitting Plug

2шт.

10

RE507952

Drain Valve

1шт.

11

19M7799

Screw

M8 X 45

4шт.

Выбрано товаров: 0