Запчасти John Deere 25CLC RTS 153 - GENERAL PURPOSE BUCKET 3302 BUCKET WITH TEETH

Схема запчастей John Deere 25CLC RTS - 153 - GENERAL PURPOSE BUCKET 3302 BUCKET WITH TEETH
FIT
1:1
100%

Артикул

Название

Примечание

Количество

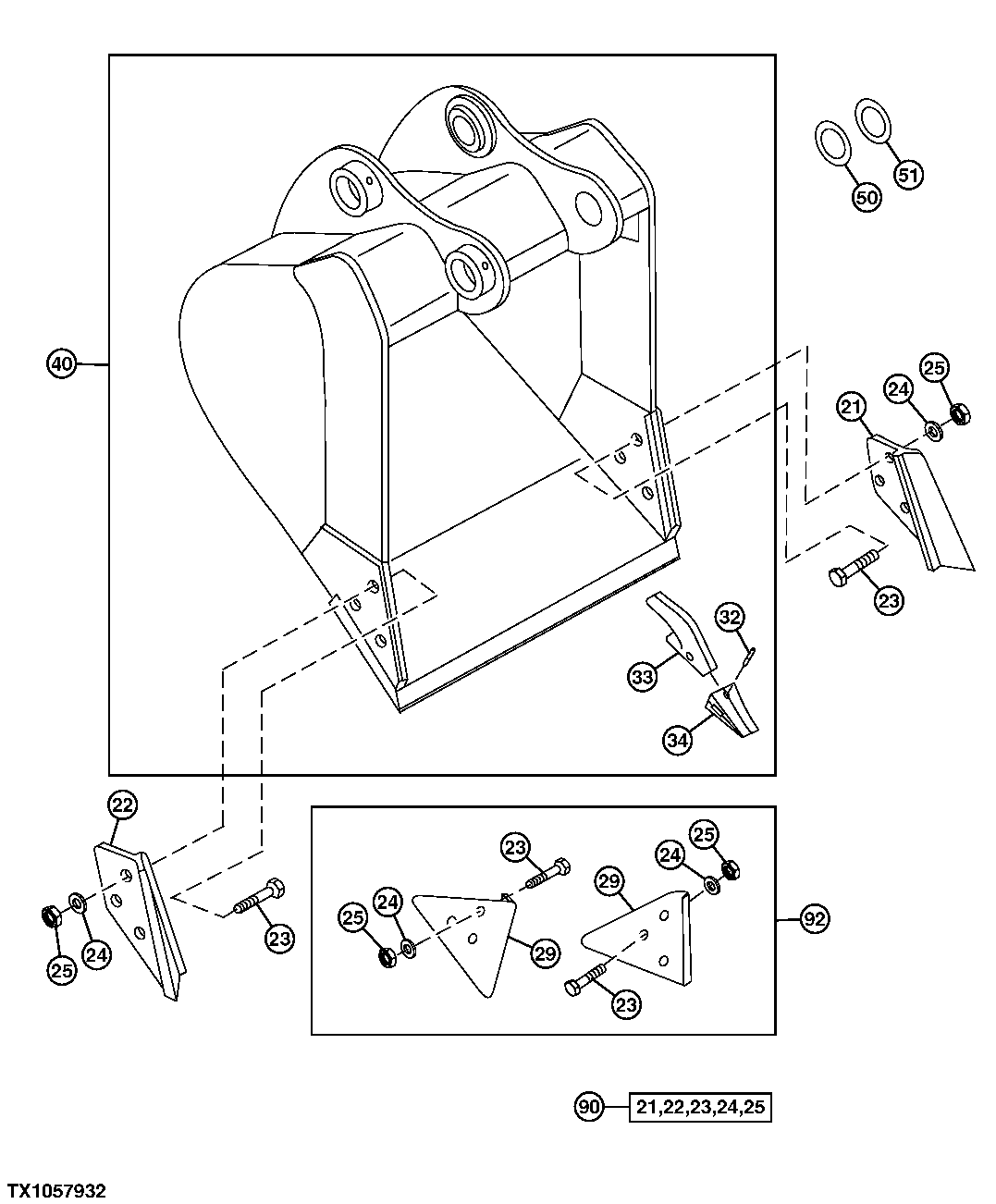
21

CE17748L3

End Bit

1шт.

22

CE17748R3

End Bit

1шт.

23

09H1772

Bolt

7/8" X 3-1/2"

12шт.

24

12H245

Lock Washer

7/8"

12шт.

25

14H1077

Nut

7/8"

12шт.

29

TPDE31329

Shroud

(WEAR)

2шт.

32

TP160

Pin

ARшт.

33

T109X220

Bucket Tooth Adapter

ARшт.

34

TF220

Tooth

ARшт.

40

AT339041

Excavator Bucket

(WHOLEGOODS) (24 INCH - .50 CUBIC YARD) 4 Teeth (SUB FOR AT332666)

1шт.

AT339043

Excavator Bucket

(WHOLEGOODS) (30 INCH - .66 CUBIC YARD) 4 Teeth (SUB FOR AT332667)

1шт.

AT339045

Excavator Bucket

(WHOLEGOODS) (36 INCH - .83 CUBIC YARD) 5 Teeth (SUB FOR AT332668)

1шт.

AT339047

Excavator Bucket

(WHOLEGOODS) (42 INCH - 1.01 CUBI C YARD) 5 Teeth (SUB FOR AT332669)

1шт.

50

T241931

Washer

70 X 110 X 1 mm (2.756" X 4.331" X 0.039") (1 MM)

ARшт.

51

T241938

Shim

(.5 MM)

ARшт.

90

AT342512

Kit

1шт.

92

AT342511

Kit

(EDGE PROTECTOR KIT)

1шт.

Выбрано товаров: 17