Запчасти John Deere 25CLC RTS 204 - CONTROL VALVE (MANIFOLD) 3362 CONTROL & LOAD HOLDING VALVES

Схема запчастей John Deere 25CLC RTS - 204 - CONTROL VALVE (MANIFOLD) 3362 CONTROL & LOAD HOLDING VALVES
FIT
1:1
100%

Артикул

Название

Примечание

Количество

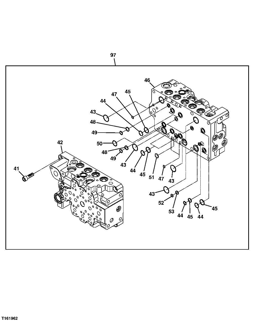
41

19M8734

Screw

M14 X 45 (SUB FOR M341445)

9шт.

42

Housing

1шт.

43

0309402

O-Ring

5шт.

44

985099

O-Ring

7шт.

45

0309401

Back-Up Ring

7шт.

46

Housing

1шт.

47

CH17167

O-Ring

5шт.

48

2046493

Back-Up Ring

3шт.

49

CH11570

O-Ring

3шт.

50

0411901

O-Ring

1шт.

51

CH12329

Packing

1шт.

52

M800650

Packing

1шт.

53

2046599

Back-Up Ring

1шт.

97

4455085

Hyd Actuated Control Valve

(INCLUDES ALL COMPONENTS ON THIS PA GE AND PREVIOUS AND FOLLOWING PAGES)

1шт.

Выбрано товаров: 14