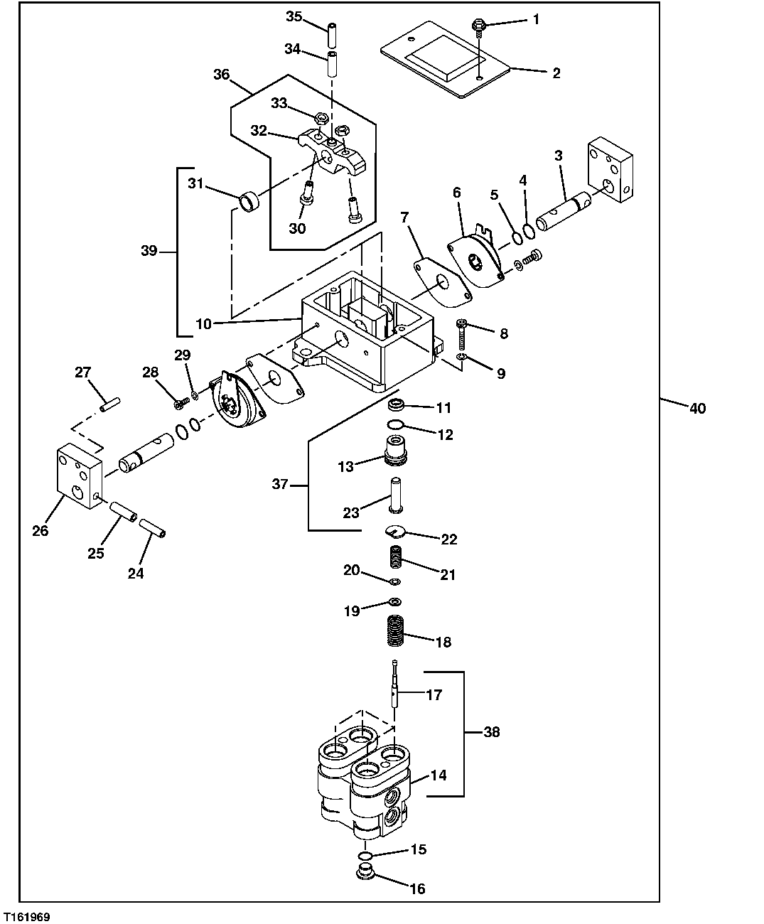
Запчасти John Deere 25CLC RTS 208 - PROPEL PILOT CONTROLLER 3362 CONTROL & LOAD HOLDING VALVES

Схема запчастей John Deere 25CLC RTS - 208 - PROPEL PILOT CONTROLLER 3362 CONTROL & LOAD HOLDING VALVES
FIT
1:1
100%

Артикул

Название

Примечание

Количество

1

J020614

Bolt

2шт.

2

8077903

Cover

1шт.

3

4425305

Pin Fastener

2шт.

4

4447067

O-Ring

2шт.

5

4185600

O-Ring

2шт.

6

4428902

Torsional Damper

2шт.

7

4437432

Gasket

2шт.

8

19M7576

Screw

M10 X 30 (SUB FOR J781030)

2шт.

9

12M7066

Lock Washer

10 mm

2шт.

10

Housing

1шт.

11

4447050

Seal

1шт.

12

CH11562

O-Ring

1шт.

13

3065877

Bushing

1шт.

14

Housing

1шт.

15

CH11561

Packing

1шт.

16

4208977

Drain Plug

1шт.

17

Spool Valve

4шт.

18

4368630

Compression Spring

4шт.

19

4319299

Spacer

4шт.

20

4662206

Shim

(SUB FOR 4203411)

12шт.

21

4368629

Compression Spring

4шт.

22

4364970

Guide

4шт.

23

3072517

Plunger

1шт.

24

34M7062

Spring Pin

5 X 32 mm

2шт.

25

34M7216

Spring Pin

6 X 35 mm

2шт.

26

3087987

Bracket

2шт.

27

4051262

Spring Pin

2шт.

28

J780612

Bolt

4шт.

29

12M7006

Lock Washer

6 mm

4шт.

30

4425290

Screw

2шт.

31

4437433

Bushing

4шт.

32

Rocker

1шт.

33

CH11562

O-Ring

2шт.

34

34M6402

Spring Pin

8 X 28 mm

2шт.

35

4213419

Spring Pin

2шт.

36

9199146

Cam Kit

2шт.

37

9151724

Plunger

(41MM OD)

4шт.

38

Housing

( 8063718 NLA)

1шт.

39

Holder

( 9184275 NLA)

1шт.

40

9195307

Hydr./Pilot Control Valve

1шт.

Выбрано товаров: 40