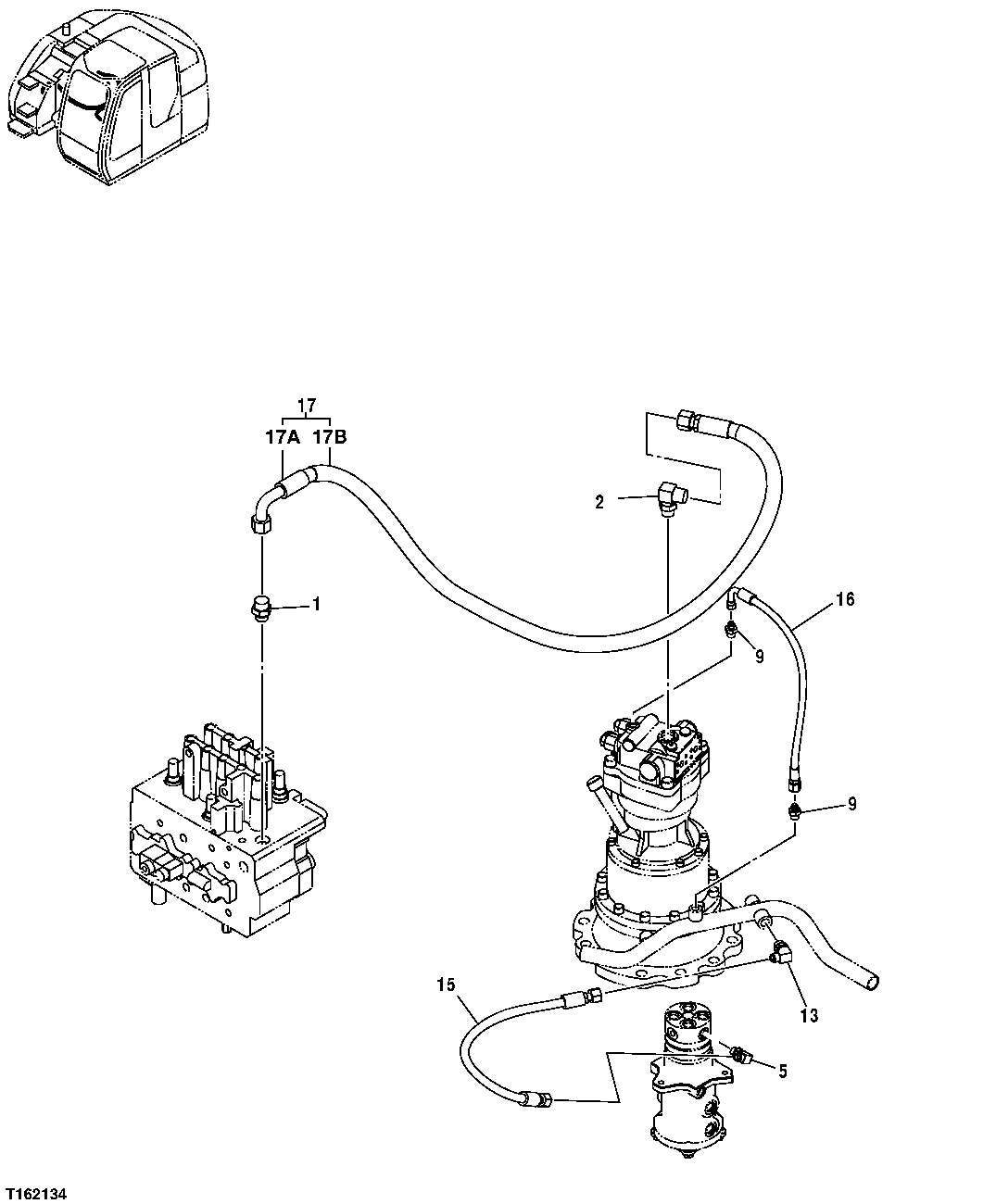
Запчасти John Deere 25CLC RTS 220 - HYDRAULIC LINES (CONTROL VALVE TO SWING MOTOR) 3363 LINES, HOSES AND FITTINGS

Схема запчастей John Deere 25CLC RTS - 220 - HYDRAULIC LINES (CONTROL VALVE TO SWING MOTOR) 3363 LINES, HOSES AND FITTINGS
FIT
1:1
100%

Артикул

Название

Примечание

Количество

1

A853166

Adapter Fitting

1шт.

AT318035

O-Ring

SUB FOR 4506424

1шт.

2

A853366

Elbow Fitting

1шт.

AT318035

O-Ring

SUB FOR 4506424

1шт.

5

A852334

Elbow Fitting

1шт.

CH11570

O-Ring

1шт.

9

A852133

Adapter Fitting

2шт.

CH11570

O-Ring

1шт.

13

A852344

Elbow Fitting

1шт.

4506418

O-Ring

1шт.

15

4389009

Hydraulic Hose

1шт.

16

4451924

Hydraulic Hose

1шт.

17

Hydraulic Hose

ORDER INDIVIDUAL COMPONENTS 9201692 NLA

1шт.

17A

4387251

Hydraulic Hose

1шт.

17B

Hose Guard

MAKE FROM XHG-075 CTL, 4327294 NLA

4шт.

Выбрано товаров: 15