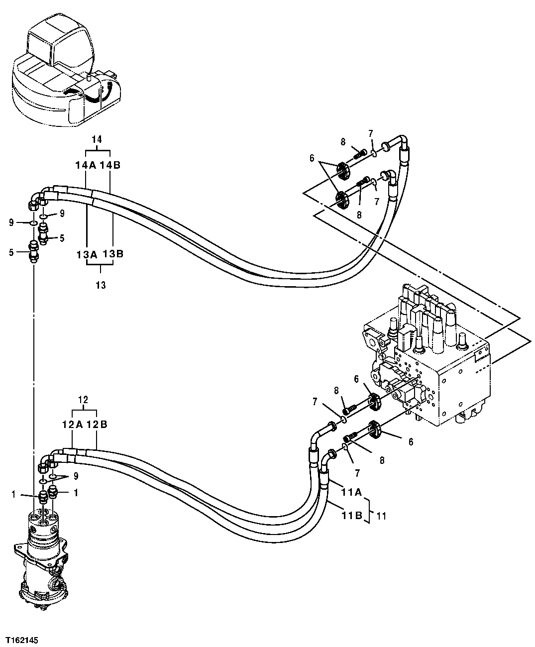
Запчасти John Deere 25CLC RTS 224 - MAIN HYDRAULIC LINES (CONTROL VALVE TO ROTARY MANIFOLD) 3363 LINES, HOSES AND FITTINGS

Схема запчастей John Deere 25CLC RTS - 224 - MAIN HYDRAULIC LINES (CONTROL VALVE TO ROTARY MANIFOLD) 3363 LINES, HOSES AND FITTINGS
FIT
1:1
100%

Артикул

Название

Примечание

Количество

1

A853144

Adapter Fitting

2шт.

4506418

O-Ring

1шт.

5

4199247

Adapter Fitting

2шт.

4506418

O-Ring

1шт.

6

4510173

Fitting

8шт.

7

R69667

O-Ring

(SUB FOR 4510167)

4шт.

8

19M7657

Screw

M8 X 25 (SUB FOR P61954 OR J780825)

16шт.

9

T77857

O-Ring

(SUB FOR 4138938)

4шт.

11

Hydraulic Hose

( 9197717 NLA) ORDER INDIVIDUAL COMPONENTS

1шт.

11A

4448839

Hydraulic Hose

1шт.

11B

Hose Guard

(MAKE FROM XHG-075 , CUT TO LENGTH) ( 4327294 NLA)

3шт.

12

Hydraulic Hose

( 9197718 NLA) ORDER INDIVIDUAL COMPONENTS

1шт.

12A

4437779

Hydraulic Hose

1шт.

12B

Hose Guard

(MAKE FROM XHG-075 , CUT TO LENGTH) ( 4327294 NLA)

3шт.

13

Hydraulic Hose

( 9197719 NLA) ORDER INDIVIDUAL COMPONENTS

1шт.

13A

4448849

Hydraulic Hose

1шт.

13B

Hose Guard

(MAKE FROM XHG-075 , CUT TO LENGTH) ( 4327294 NLA)

3шт.

14

Hydraulic Hose

( 9197720 NLA) ORDER INDIVIDUAL COMPONENTS

1шт.

14A

4448851

Hydraulic Hose

1шт.

14B

Hose Guard

(MAKE FROM XHG-075 , CUT TO LENGTH) ( 4327294 NLA)

3шт.

Выбрано товаров: 20