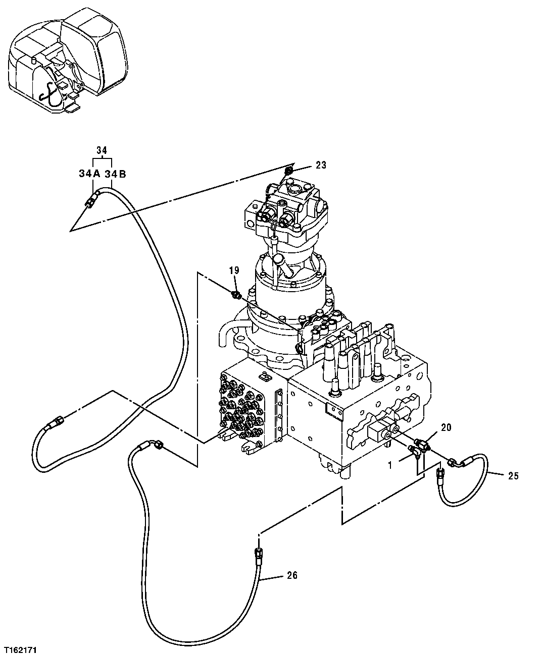
Запчасти John Deere 25CLC RTS 228 - PILOT HYDRAULIC LINES (PILOT SIGNAL MANIFOLD TO SWING MOTOR) 3363 LINES, HOSES AND FITTINGS

Схема запчастей John Deere 25CLC RTS - 228 - PILOT HYDRAULIC LINES (PILOT SIGNAL MANIFOLD TO SWING MOTOR) 3363 LINES, HOSES AND FITTINGS
FIT
1:1
100%

Артикул

Название

Примечание

Количество

1

4154670

Elbow Fitting

SUB FOR A852322, P67984 OR THA852322

1шт.

M800650

Packing

SUB FOR 957366

1шт.

19

A852122

Adapter Fitting

1шт.

M800650

Packing

SUB FOR 957366

1шт.

20

A852422

Tee Fitting

1шт.

M800650

Packing

SUB FOR 957366

1шт.

23

A852122

Adapter Fitting

1шт.

M800650

Packing

SUB FOR 957366

1шт.

25

4442219

Hydraulic Hose

1шт.

26

4451993

Hydraulic Hose

1шт.

34

Hydraulic Hose

9196443 NLA

1шт.

34A

4436304

Hydraulic Hose

1шт.

34B

4327315

Hose Guard

4327293 NLA

3шт.

Выбрано товаров: 13