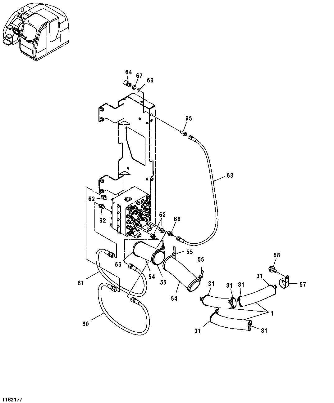
Запчасти John Deere 25CLC RTS 231 - PILOT HYDRAULIC LINES (PILOT SIGNAL MANIFOLD) 3363 LINES, HOSES AND FITTINGS

Схема запчастей John Deere 25CLC RTS - 231 - PILOT HYDRAULIC LINES (PILOT SIGNAL MANIFOLD) 3363 LINES, HOSES AND FITTINGS
FIT
1:1
100%

Артикул

Название

Примечание

Количество

1

4219918

Isolator

3шт.

31

H77698

Tie Band

6шт.

54

4453084

Grommet

2шт.

55

H77698

Tie Band

4шт.

57

N198631

Clamp

SUB FOR 4190265

1шт.

58

19M7938

Cap Screw

M10 X 20 SUB FOR J011020

1шт.

12M7066

Lock Washer

10 mm

1шт.

60

4474668

Hose

SUB FOR 4455995

1шт.

61

4455994

Hydraulic Hose

1шт.

62

A852133

Adapter Fitting

4шт.

4297380

O-Ring

SUB FOR 4622346 AND 4674883, 4509180

1шт.

63

4457402

Hydraulic Hose

1шт.

64

4177307

Union Fitting

1шт.

65

4248117

Adapter Fitting

1шт.

66

12H301

Lock Washer

1/2" SUB FOR A590912

1шт.

67

4209198

Nut

1шт.

68

A852132

Adapter Fitting

1шт.

4297380

O-Ring

SUB FOR 4622346, 4674883 OR 4509180

1шт.

Выбрано товаров: 18