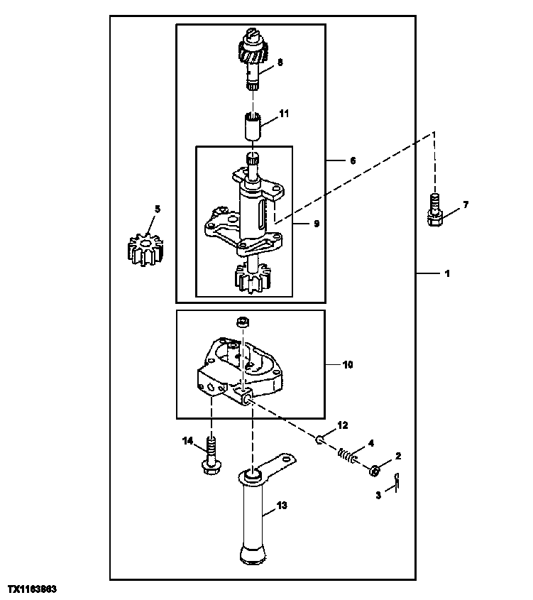
Запчасти John Deere 25CLC RTS 21 - Engine Oil Pump 0407 ENGINE OILING SYSTEM

Схема запчастей John Deere 25CLC RTS - 21 - Engine Oil Pump 0407 ENGINE OILING SYSTEM
FIT
1:1
100%

Артикул

Название

Примечание

Количество

1

8970653840

Hydraulic Pump

1шт.

2

5131650040

Plate

1шт.

3

0811240300

Pin

SUB FOR 9081140300

1шт.

4

5095800980

Spring

1шт.

5

8941635950

Gear

1шт.

6

5878120080

Gear

1шт.

7

0286510250

Bolt

SUB FOR 0280510250

2шт.

8

1131280180

Pinion

1шт.

9

8941635940

Shaft

1шт.

10

8941635970

Cover

1шт.

11

1131230160

Coupling

1шт.

12

5098430030

Ball

1шт.

13

1131401160

Strainer

1шт.

14

8943445910

Bolt

4шт.

Выбрано товаров: 14