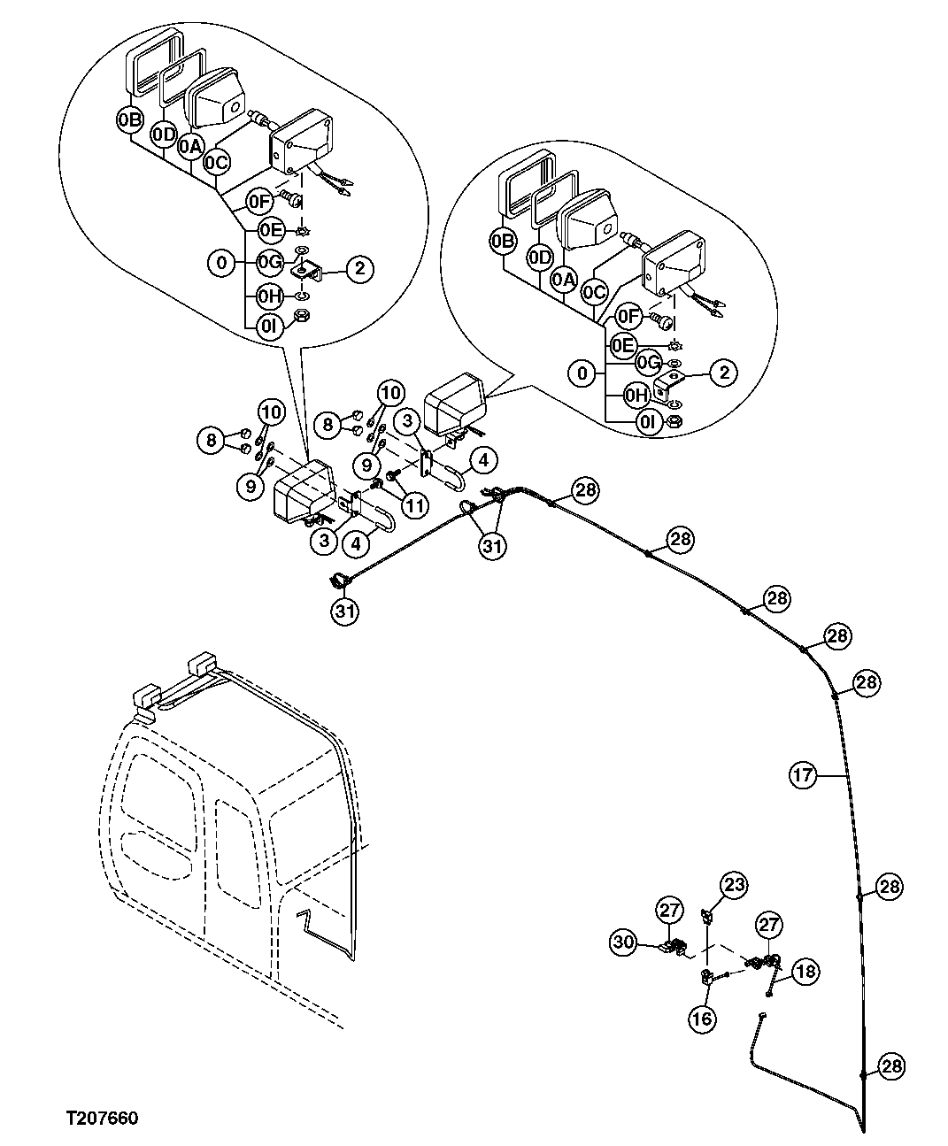
Запчасти John Deere 30CLC 112 - FRONT CAB LIGHTING 1674 WIRING HARNESS AND SWITCHES

Схема запчастей John Deere 30CLC - 112 - FRONT CAB LIGHTING 1674 WIRING HARNESS AND SWITCHES
FIT
1:1
100%

Артикул

Название

Примечание

Количество

0

4326800

Lamp

(SUB FOR 4336570)

2шт.

0A

4326801

Lens

1шт.

0B

4326802

Frame

1шт.

0C

AT135758

Bulb

(SUB FOR 4285648 OR AT154990)

1шт.

0D

4326803

Gasket

1шт.

0E

4307026

Washer

1шт.

0F

37H19

Screw

(SUB FOR 4307027)

4шт.

0G

24M7085

Washer

15 X 28 X 2.500 mm (SUB FOR A590114)

1шт.

0H

12H317

Lock Washer

9/16" (SUB FOR A590914)

1шт.

0I

14M7345

Nut

M14 (SUB FOR J952014)

1шт.

2

9756005

Bracket

2шт.

3

4447765

Bracket

2шт.

4

4447868

U-Bolt

2шт.

8

4447870

Nut

4шт.

9

24M7028

Washer

10.500 X 20 X 2 mm (SUB FOR J253110 OR A590110)

4шт.

10

12M7066

Lock Washer

10 mm (SUB FOR J252210)

4шт.

11

Cap Screw

( J271030 NLA) (SUB 19M7 168, 12M7066 AND 24M7096)

2шт.

19M7168

Cap Screw

M10 X 30

1шт.

12M7066

Lock Washer

10 mm

1шт.

24M7096

Washer

10.500 X 18 X 1.600 mm

1шт.

16

4451681

Wiring Harness

1шт.

17

4362178

Wiring Harness

1шт.

18

4366592

Wiring Harness

1шт.

23

4414207

Relay

1шт.

27

4326365

Clip

(SUB FOR 4289708)

6шт.

28

4050373

Clip

7шт.

30

3074559

Wiring Harness

1шт.

31

H77698

Tie Band

(SUB FOR 4055312)

3шт.

Выбрано товаров: 28