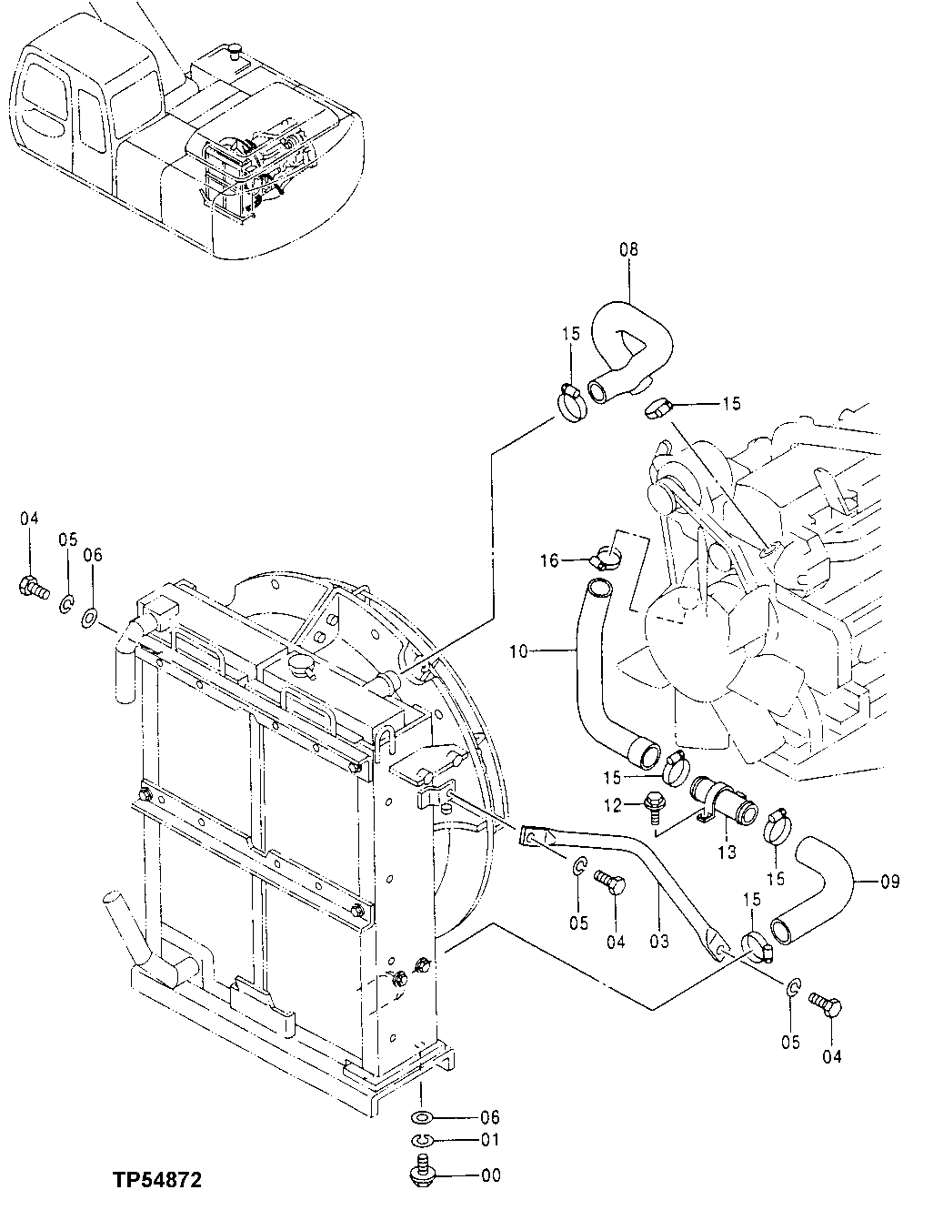
Запчасти John Deere 30LC 120 - Radiator Hoses 0510 Engine Cooling Systems

Схема запчастей John Deere 30LC - 120 - Radiator Hoses 0510 Engine Cooling Systems
FIT
1:1
100%

Артикул

Название

Примечание

Количество

0

19M7489

Cap Screw

M16 X 45

4шт.

1

12H294

Lock Washer

5/8"

4шт.

3

3079124

Bracket

(SUB FOR AT218151)

1шт.

4

19M8035

Cap Screw

M16 X 35

3шт.

5

12H294

Lock Washer

5/8"

3шт.

6

24M7053

Washer

17 X 30 X 3 mm

5шт.

8

2041603

Radiator Hose

(SUB FOR AT218152)

1шт.

9

3079794

Hose

(SUB FOR AT218153)

1шт.

10

2041522

Hose

(SUB FOR AT183401)

1шт.

12

19M7662

Cap Screw

M10 X 30

2шт.

12M7066

Lock Washer

10 mm

2шт.

24M7028

Washer

10.500 X 20 X 2 mm

2шт.

13

9748540

Line

(SUB FOR AT218154)

1шт.

15

TY22472

Clamp

(SUB FOR AT145651)

5шт.

16

TY22472

Clamp

(SUB FOR AT145651)

1шт.

Выбрано товаров: 15