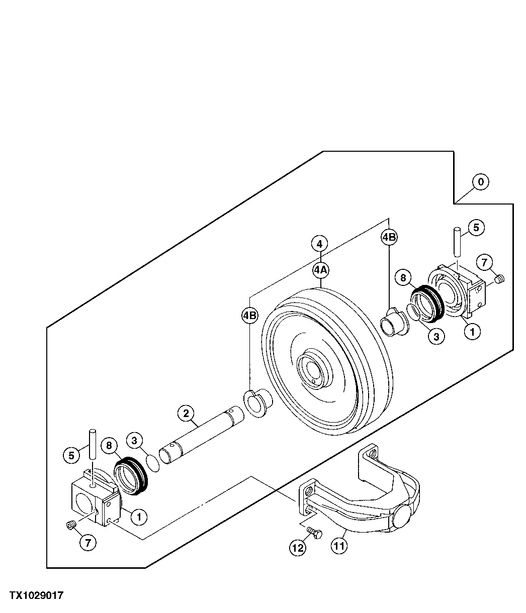
Запчасти John Deere 30LC 4 - Front Idler 0130 Track Systems

Схема запчастей John Deere 30LC - 4 - Front Idler 0130 Track Systems
FIT
1:1
100%

Артикул

Название

Примечание

Количество

0

Idler

SUB AT180014, SUB FOR AT21439 2 OR 9145269, W/ SLIDE BEARING

2шт.

AT180014

Track Idler

W/ SLIDE BEARING

2шт.

1

1021805

Bearing

SUB FOR AT213727

2шт.

AT180016

Support

2шт.

2

3070162

Axle

SUB FOR AT213765

1шт.

AT180022

Shaft

1шт.

3

CH14671

Packing

2шт.

AT180019

O-Ring

2шт.

4

9134157

Idler Sprocket

SUB FOR AT214384

1шт.

AT180020

Roller Shell

1шт.

4A

Idler

1шт.

4B

3069749

Bushing

SUB FOR AT213763

2шт.

AT180021

Bushing

2шт.

5

4126209

Pin

SUB FOR TH100432

2шт.

AT180015

Pin Fastener

2шт.

7

942011

Fitting Plug

SUB FOR 94-2011 AND TH100434

2шт.

AT180007

Fitting Plug

2шт.

8

AT180017

Seal

SUB FOR TH100433

2шт.

AT180017

Seal

2шт.

11

1014036

Yoke

SUB FOR AT154628

2шт.

AT180023

Yoke

2шт.

12

19M8035

Cap Screw

M16 X 35

8шт.

Выбрано товаров: 22