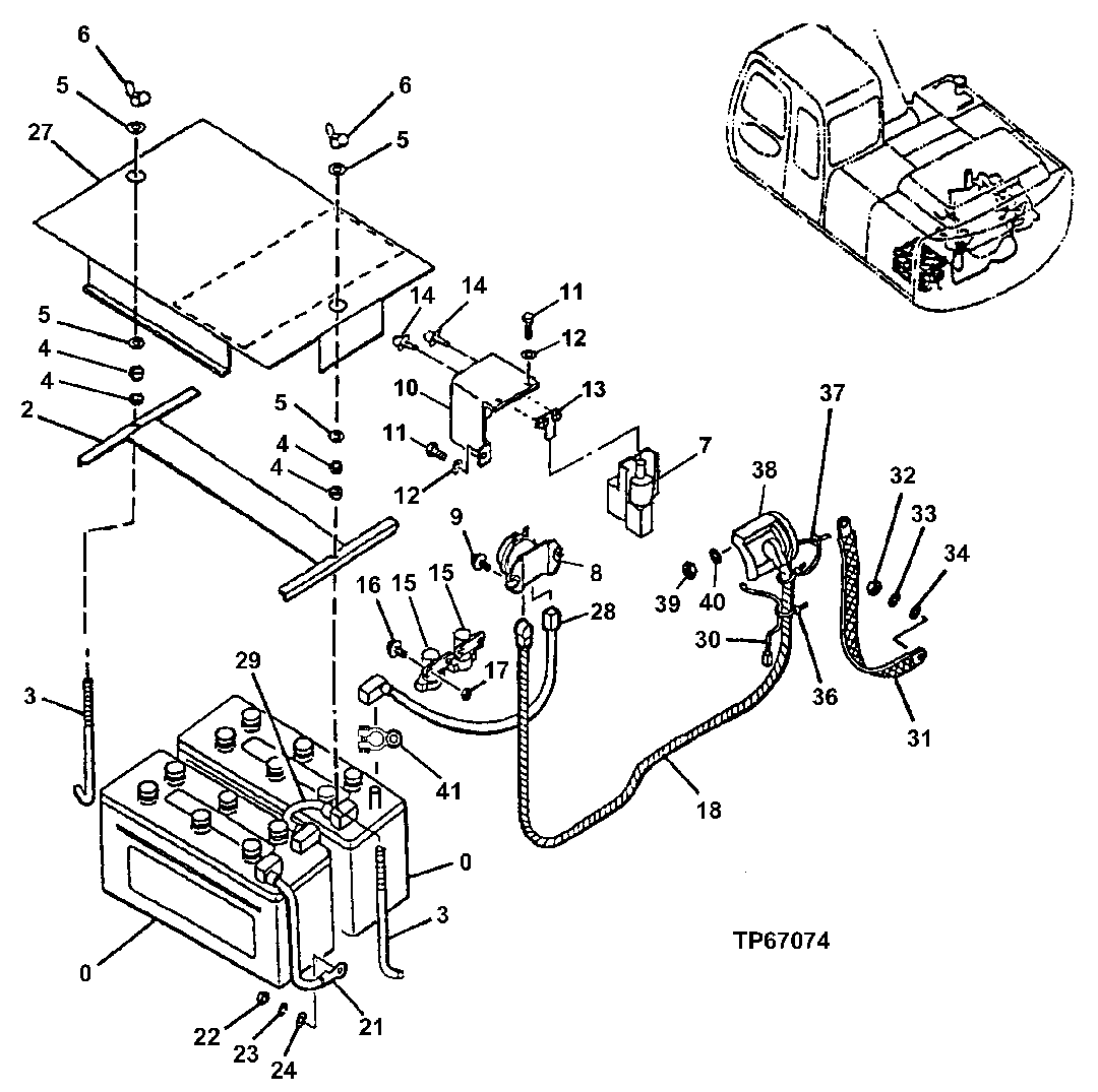
Запчасти John Deere 30LC 143 - Battery - Cables and Mounting (600001 - ) 1674 Wiring Harness And Switches

Схема запчастей John Deere 30LC - 143 - Battery - Cables and Mounting (600001 - ) 1674 Wiring Harness And Switches
FIT
1:1
100%

Артикул

Название

Примечание

Количество

0

TY23020

Dry Charged Battery

(SUB FOR TY21709) (ALSO ORDER (2) TY157 33) ( AT182292 NLA) Replacement Battery

2шт.

2

AT219489

Support

1шт.

3

4257034

Hook Bolt

(SUB FOR AT155273)

2шт.

4

14M7274

Nut

M10

4шт.

5

24M7028

Washer

10.500 X 20 X 2 mm

4шт.

6

14M7025

Wing Nut

M10

2шт.

7

4405815

Sensor

(SUB FOR AT186241)

1шт.

8

4S00204

Relay

(SUB FOR TH109640) Battery

1шт.

9

21M7288

Screw

M6 X 10

2шт.

10

3056019

Cover

(SUB FOR AT154139)

1шт.

11

19M7932

Cap Screw

M8 X 16

3шт.

12

24M7055

Washer

8.400 X 16 X 1.600 mm

3шт.

13

9751069

Bracket

(SUB FOR AT186242)

1шт.

14

19M8425

Cap Screw

M6 X 16 (SUB FOR 4181729, A LONG W/ 12M7006 AND 24M7054)

2шт.

15

AT145341

Relay

(ALSO REQUIRES (2) 14M7165 FOR EACH RELAY)

2шт.

14M7165

Lock Nut

M6

2шт.

16

19M7077

Cap Screw

M6 X 20

4шт.

12M7006

Lock Washer

6 mm

4шт.

24M7293

Washer

6.500 X 13 X 1.600 mm

4шт.

17

14M7272

Nut

M6

4шт.

18

4285314

Wiring Harness

(SUB FOR AT155348) Starter To Battery Relay

1шт.

21

AR45925

Battery Cable

482.600 mm (19") Ground Strap

1шт.

22

14M7274

Nut

M10

1шт.

23

12M7066

Lock Washer

10 mm

1шт.

24

24M7028

Washer

10.500 X 20 X 2 mm

1шт.

27

AT219488

Cover

1шт.

28

4367870

Cable

(SUB FOR AT217804) Battery To Battery Relay

1шт.

29

4350736

Battery Cable

(SUB FOR AT213948) Battery To Battery

1шт.

30

4448296

Wiring Harness

(SUB FOR AT155617) Starter

1шт.

31

4397839

Ground Cable

(SUB FOR AT218179) Ground

1шт.

32

14M7274

Nut

M10

1шт.

33

12M7066

Lock Washer

10 mm

1шт.

34

24M7028

Washer

10.500 X 20 X 2 mm

1шт.

36

H77698

Tie Band

2шт.

37

H77698

Tie Band

1шт.

38

Cover

(SUB RE41759) Starter

1шт.

39

14H631

Nut

0.190"

1шт.

40

12M7060

Washer

5.300 mm

1шт.

41

AT219485

Clamp

On Battery Terminals

4шт.

Выбрано товаров: 39