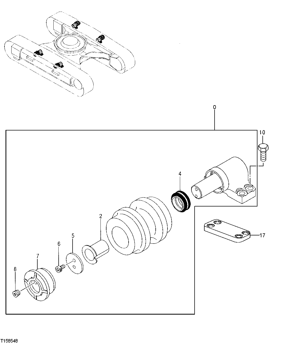
Запчасти John Deere 30LC 7 - Upper Roller ( - 600000) 0130 Track Systems

Схема запчастей John Deere 30LC - 7 - Upper Roller ( - 600000) 0130 Track Systems
FIT
1:1
100%

Артикул

Название

Примечание

Количество

0

Roller

(SOREFA AP39243 NLA) (SUB BERCO AP34667)

4шт.

2

4172348

Bushing

(SUB FOR TH108089)

1шт.

4

4317584

Seal

(SUB FOR AT213828)

1шт.

5

4282842

Washer

(SUB FOR AT131375)

1шт.

6

M351018

Bolt

M10 X 18 (SUB FOR AT131372)

2шт.

7

Cover

( 3070078 NLA) (SUB FOR AT213764)

1шт.

8

942011

Fitting Plug

(SUB FOR 94-2011 AND TH100434)

1шт.

10

19M8295

Cap Screw

M16 X 55 (USE W/ 4334245) Spacer

16шт.

19M7488

Cap Screw

M16 X 40 (USE W/ 4334245) Spacer

16шт.

17

4334245

Spacer

4шт.

Выбрано товаров: 10