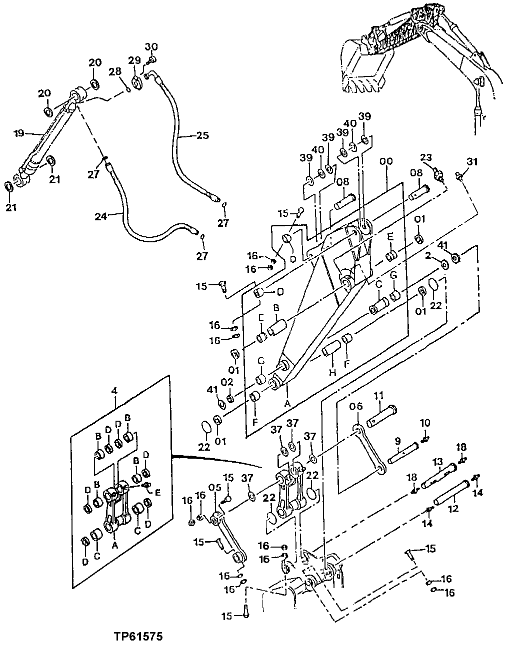
Запчасти John Deere 30LC 279 - LONG ARM 3.61 M (11 FT 10 IN) (600273 - ) 3340 Backhoe & Excavator Frames

Схема запчастей John Deere 30LC - 279 - LONG ARM 3.61 M (11 FT 10 IN) (600273 - ) 3340 Backhoe & Excavator Frames
FIT
1:1
100%

Артикул

Название

Примечание

Количество

0

7032176

Arm

(SUB FOR AT217867)

1шт.

0A

Arm

1шт.

0B

4360149

Spacer

(SUB FOR AT217790)

1шт.

0C

4360145

Spacer

(SUB FOR AT217789)

1шт.

0D

4067719

Pivot

(SUB FOR TH102410)

2шт.

0E

4385295

Bushing

(SUB FOR AT186154)

2шт.

0F

4355876

Bushing

(SUB FOR AT217782)

2шт.

0G

4332285

Bushing

(SUB FOR AT217750)

2шт.

0H

4372776

Spacer

(SUB FOR AT217818)

1шт.

1

TH102445

Seal

4шт.

2

TH102446

Seal

2шт.

4

8066447

Link

(SUB FOR AT217891)

1шт.

4A

Link

1шт.

4B

4358100

Bushing

(SUB FOR AT217787)

4шт.

4C

4355876

Bushing

(SUB FOR AT217782)

2шт.

4D

TH102445

Seal

6шт.

4E

TH100074

Lubrication Fitting

2шт.

5

8050930

Link

(SUB FOR AT154838)

1шт.

6

3056355J

Link

(SUB FOR AT154693 OR 3056355)

1шт.

8

AT217742

Pin

2шт.

9

TH109810

Pin

1шт.

10

TH100074

Lubrication Fitting

1шт.

11

T138885

Pin

1шт.

T138902

Bushing

1шт.

19M8029

Cap Screw

M16 X 30

1шт.

12

TH110235

Pin Fastener

1шт.

13

TH110236

Pin Fastener

1шт.

14

TH100074

Lubrication Fitting

2шт.

15

19M8503

Cap Screw

M20 X 160 (SUB FOR P61796)

6шт.

16

14M7277

Nut

M20

12шт.

18

TH100074

Lubrication Fitting

2шт.

19

Cylinder

(BUCKET) (SEE SEPARATE PAGE FOR DETAIL)

1шт.

20

TH102446

Seal

2шт.

21

TH102445

Seal

2шт.

22

4089028

O-Ring

(STANDARD O-RING)

4шт.

AT349466

Seal

(SPLIT O-RING)

4шт.

T397473

V-Ring Seal

V O-Ring

4шт.

23

TH100074

Lubrication Fitting

2шт.

24

AT155744

Hydraulic Hose

30.1752" X 1900 mm (74-3/4") X 30.1752"

1шт.

25

AT155743

Hydraulic Hose

1" X 2000 mm (78-3/4") X 30.1752"

1шт.

27

T77858

O-Ring

18.771 X 1.778 mm (0.739" X 0.070")

3шт.

28

T78313

O-Ring

32.920 X 3.530 mm (1.296" X 0.139")

1шт.

29

4085560

Flange Fitting

(SUB FOR TH101960)

2шт.

30

19M9163

Screw

M12 X 40 (SUB FOR J781240)

4шт.

31

94-2010

Fitting Plug

(SUB FOR TH100689)

2шт.

37

4372971

Washer

(SUB FOR AT217822)

4шт.

39

4366691

Thrust Washer

(SUB FOR AT214029)

6шт.

40

4367409

Thrust Washer

(SUB FOR AT214039)

2шт.

41

TH104296

Washer

2шт.

Выбрано товаров: 49