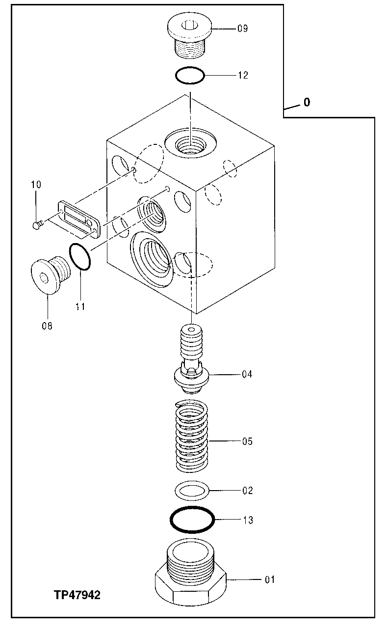
Запчасти John Deere 30LC 321 - Relief Valve 3360 Hydraulic System

Схема запчастей John Deere 30LC - 321 - Relief Valve 3360 Hydraulic System
FIT
1:1
100%

Артикул

Название

Примечание

Количество

0

4351142

Pressure Relief Valve

(SUB FOR AT213955)

1шт.

1

0333803

Pipe Plug

(SUB FOR TH110207)

1шт.

2

0349402

Shim

(SUB FOR AT213628)

1шт.

4

0670502

Poppet

(SUB FOR AT213709)

1шт.

5

0670503

Compression Spring

(SUB FOR AT213710)

1шт.

8

0314205

Plug

(SUB FOR AT120949 OR TH0314205)

1шт.

9

15M7036

Drain Plug

(SUB FOR TH109285 OR 0309805)

1шт.

10

0208717

Screw

(SUB FOR TH102697)

2шт.

11

M800650

Packing

1шт.

12

CH11570

O-Ring

13.800 X 2.400 mm (0.543" X 3/32")

1шт.

13

AT318035

O-Ring

(SUB FOR 4506424, TH100055)

1шт.

Выбрано товаров: 11