Запчасти John Deere 30LC 342 - Swing Motor 4360 Hydraulics

Схема запчастей John Deere 30LC - 342 - Swing Motor 4360 Hydraulics
FIT
1:1
100%

Артикул

Название

Примечание

Количество

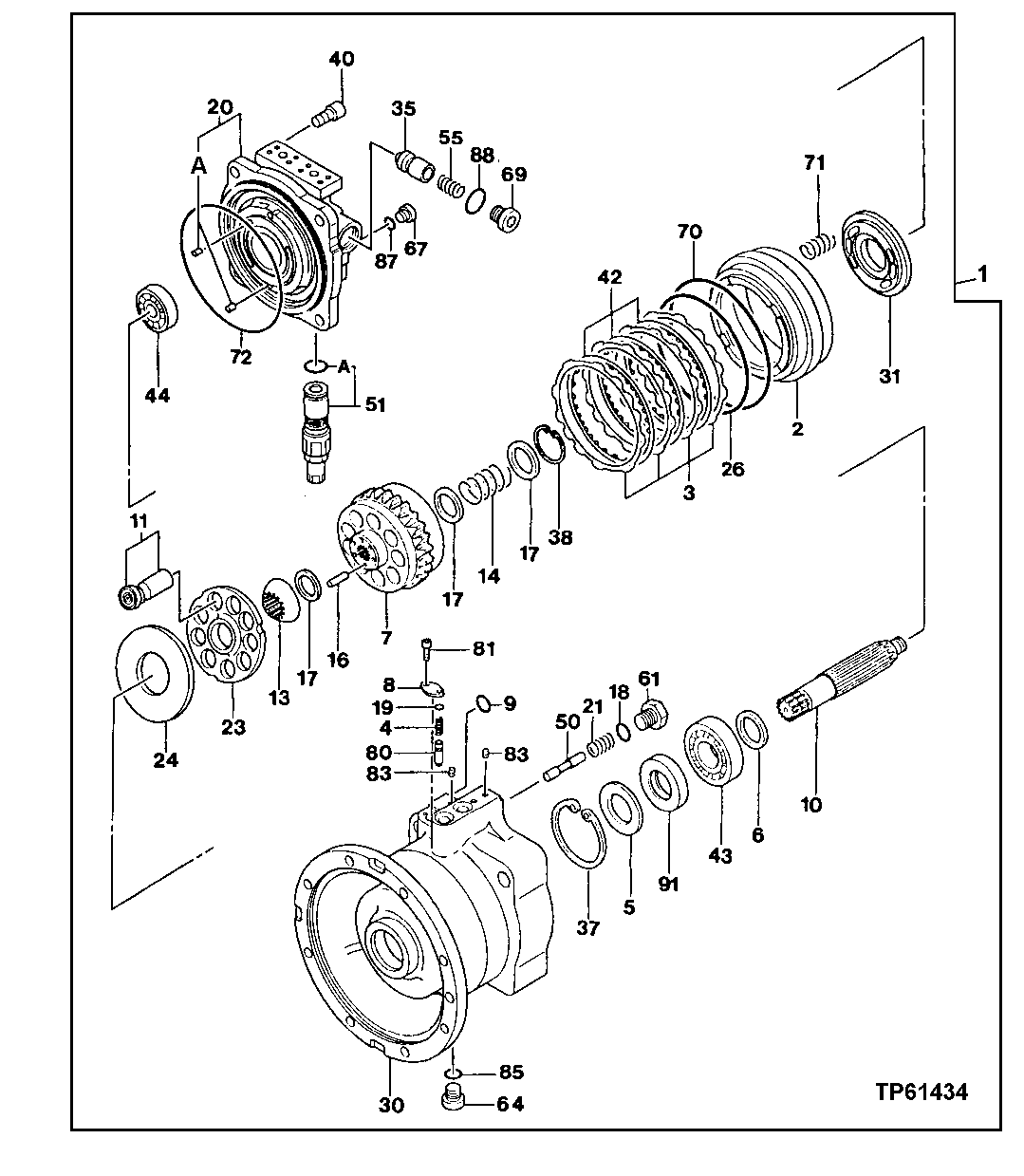
1

AT218129

Motor

USE IF AVAILABLE, IF AT21812 9 NOT AVAILABLE, SUB AT183690

1шт.

AT183690

Hydraulic Motor Reman

REMAN FOR AT218129

1шт.

2

0667619

Piston

SUB FOR AT213649

1шт.

3

0667621

Plate

SUB FOR AT213651

4шт.

4

0667624

Spring

SUB FOR AT213654

1шт.

5

0667615

Washer

SUB FOR AT213645

1шт.

6

0667606

Washer

SUB FOR AT213636

1шт.

7

0667607

Cylinder

SUB FOR AT213637

1шт.

8

0667625

Cover

SUB FOR AT213655

1шт.

9

CH10568

Packing

1шт.

10

0667605

Shaft

SUB FOR AT213635

1шт.

11

0667601

Piston

SUB FOR AT213631

9шт.

13

0667608

Bushing

SUB FOR AT213638

1шт.

14

0667609

Spring

SUB FOR AT213639

1шт.

16

0365310

Pin

SUB FOR AT128286

12шт.

17

0667610

Washer

44 X 56.500 X 1.500 mm (1.732" X 2.224" X 0.059") SUB FOR AT213640

3шт.

18

M800650

Packing

1шт.

19

CH10568

Packing

1шт.

20

0667602

Housing

SUB FOR AT213632

1шт.

20A

0365336

Pin Fastener

SUB FOR AT184356

2шт.

21

0667623

Spring

SUB FOR AT213653

1шт.

23

0667611

Retainer

SUB FOR AT213641

1шт.

24

0695606

Plate

SUB FOR AT213642 OR 0667612

1шт.

26

0425115

O-Ring

SUB FOR AT155216 OR 4S01095

1шт.

30

0708702

Housing

SUB FOR AT218145

1шт.

31

0667613

Plate

SUB FOR AT213643

1шт.

35

0409215

Plunger

SUB FOR AT155198

2шт.

37

40M7043

Snap Ring

1шт.

38

40M7201

Snap Ring

1шт.

40

0365318

Screw

SUB FOR AT128294

4шт.

42

0667620

Plate

SUB FOR AT213650

3шт.

43

0667616

Cylindrical Roller Bearing

SUB FOR AT213646

1шт.

44

0677203

Cylindrical Roller Bearing

SUB FOR 0425114 OR 0788812

1шт.

50

0667622

Spool

SUB FOR AT213652

1шт.

51

0708701

Pressure Relief Valve

SUB FOR AT218144

2шт.

51A

A811030

O-Ring

29.400 X 3.100 mm (1.157" X 0.122") SUB FOR TH101300

2шт.

55

0409216

Spring

SUB FOR AT155199

2шт.

61

0629404

Fitting Plug

SUB FOR AT213630

1шт.

64

0629404

Fitting Plug

SUB FOR AT213630

1шт.

67

0629404

Fitting Plug

SUB FOR AT213630

2шт.

69

0392502

Fitting Plug

SUB FOR AT213629

2шт.

70

4323631

O-Ring

SUB FOR AT132162, 4S01096 OR 4S00614

1шт.

71

0365331

Spring

SUB FOR TH112060

18шт.

72

0667617

O-Ring

SUB FOR AT213647, 4S00220 OR 4S00627

1шт.

80

0667604

Plunger

SUB FOR AT213634

1шт.

81

0667626

Screw

SUB FOR AT213656

2шт.

83

15H560

Pipe Plug

1/16"

3шт.

85

M800650

Packing

1шт.

87

M800650

Packing

2шт.

88

AT264347

O-Ring

SUB FOR TH100136 OR 4506428

2шт.

91

0667618

Seal

SUB FOR AT213648 OR 4S00824

1шт.

Выбрано товаров: 51