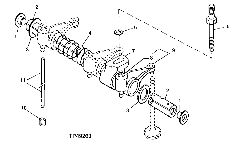
Запчасти John Deere 30LCR 113 - Rocker Arm Shaft, Push Rods and Rocker Arms ( - 829272) 0402B Camshaft And Valve Actuating Means PE6068HT051 PE6068HT051

Схема запчастей John Deere 30LCR - 113 - Rocker Arm Shaft, Push Rods and Rocker Arms ( - 829272) 0402B Camshaft And Valve Actuating Means PE6068HT051 PE6068HT051
FIT
1:1
100%

Артикул

Название

Примечание

Количество

1

R54565

Plug

2шт.

2

R123514

Rocker Arm Shaft

1шт.

3

T20316

Washer

2шт.

4

T20314

Spring

5шт.

5

R123271

Stud

6шт.

6

R42729

Washer

6шт.

7

R123161

Support

6шт.

8

14M7148

Nut

M10

1шт.

9

RE68695

Rocker Arm

12шт.

10

R123565

Follower

12шт.

11

R107731

Push Rod

12шт.

Выбрано товаров: 11