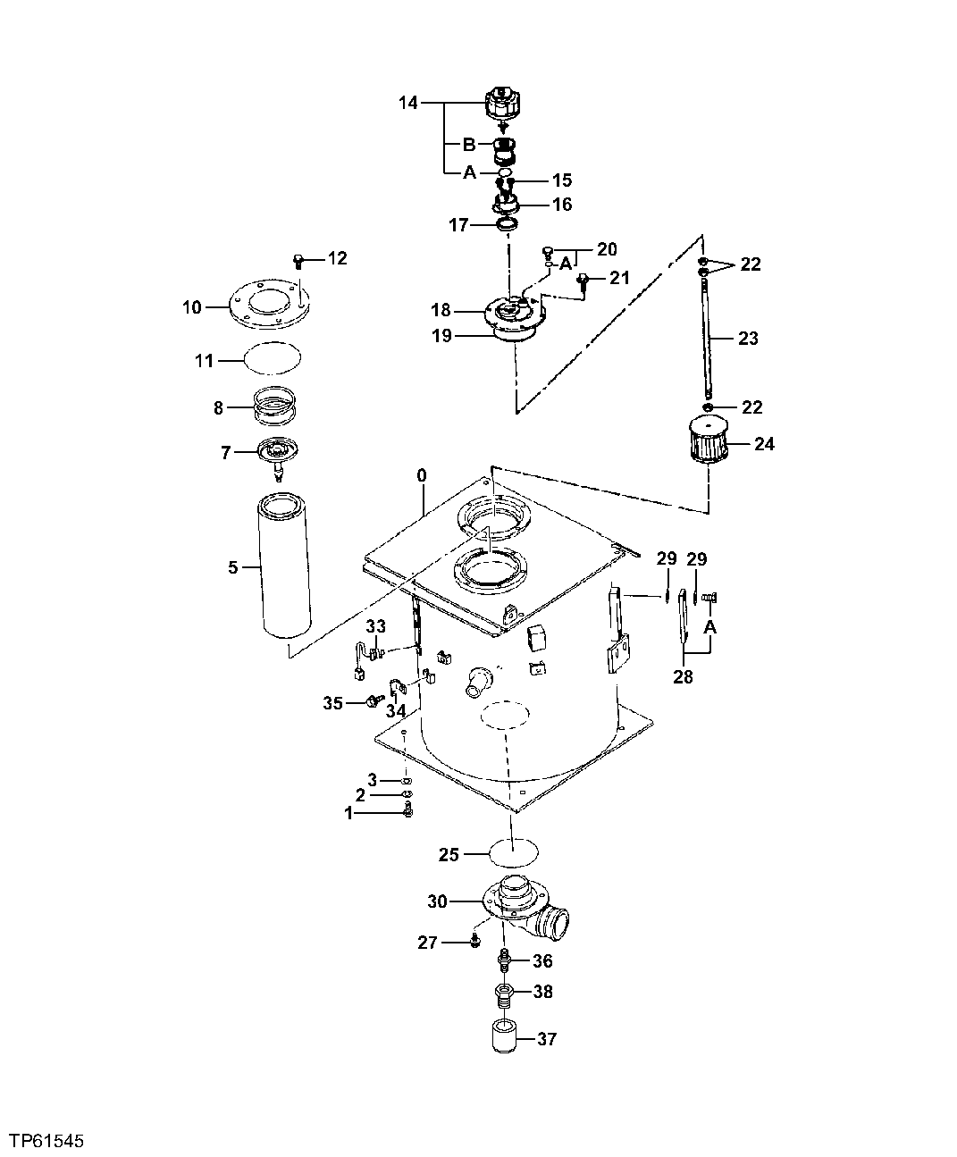
Запчасти John Deere 30LCR 289 - OIL TANK 2160 Vehicle Hydraulics

Схема запчастей John Deere 30LCR - 289 - OIL TANK 2160 Vehicle Hydraulics
FIT
1:1
100%

Артикул

Название

Примечание

Количество

0

5005449

Hydraulic Reservoir

(SUB FOR AT218170)

1шт.

1

19M7488

Cap Screw

M16 X 40

4шт.

2

12H294

Lock Washer

5/8"

4шт.

3

24M7338

Washer

17 X 30 X 3 mm

4шт.

5

AT147343

Filter Element

1шт.

AT162766

Filter Element

(CLEAN UP FILTER) (LIMITED USE - A PPROXIMATELY 3 HOURS) (IDLE SPEED)

1шт.

7

4180414

Flow Control Hyd. Valve

(SUB FOR TH109511)

1шт.

8

4226549

Extension Spring

(SUB FOR TH109512)

1шт.

10

4204057

Cover

(SUB FOR TH111304)

1шт.

11

T110444

O-Ring

189.300 X 5.700 mm (7-29/64" X 0.224")

1шт.

12

12M7066

Lock Washer

10 mm

6шт.

19M3142

Cap Screw

M10 X 18

6шт.

14

4326285

Cap

(SUB FOR AT167080)

1шт.

14A

T162516

O-Ring

1шт.

14B

4251384

Filter Element

(SUB FOR AT122928)

1шт.

15

19M8146

Screw

M5 X 16

3шт.

16

4222875

Base

(SUB FOR TH111021)

1шт.

17

4222876

Packing

(SUB FOR TH111022)

1шт.

18

8066670

Cover

(SUB FOR AT215118)

1шт.

AT190749

Cover

(ARCTIC) (INC. IN AT19 0894 AND AT190895 KIT)

1шт.

19

TH100679

O-Ring

159.300 X 5.700 mm (6.272" X 0.224")

1шт.

20

4209653

Fitting Plug

(SUB FOR TH109514)

1шт.

20A

4506418

O-Ring

(SUB FOR U46489)

1шт.

21

19M7402

Cap Screw

M10 X 25

6шт.

12M7066

Lock Washer

10 mm

6шт.

22

14M7274

Nut

M10

3шт.

23

4358069

Stud

(SUB FOR AT179189)

1шт.

24

4210224

Strainer

(SUB FOR TH110133)

1шт.

AT190750

Strainer

(ARCTIC) (32 MESH FOR ARCTIC CONDITIO NS) (INC. IN AT190894 AND 190895 KIT)

1шт.

25

TH102793

O-Ring

129.600 X 5.700 mm (5.102" X 0.224")

1шт.

26

T166271

Pipe Plug

1шт.

27

19M7662

Cap Screw

M10 X 30

5шт.

12M7066

Lock Washer

10 mm

5шт.

28

8053499

Level Gauge

(SUB FOR TH108293)

1шт.

28A

4100967

Bolt

(SUB FOR TH101894)

2шт.

29

449558

Washer

(SUB FOR TH100675)

4шт.

30

2039719

Tube

(SUB FOR AT213750)

1шт.

33

4259787

Switch

(SUB FOR AT154937)

1шт.

34

4257159

Bracket

(SUB FOR AT154243)

1шт.

35

19M8324

Cap Screw

M10 X 16

1шт.

12M7058

Lock Washer

12 mm (SUB FOR 12M7067)

1шт.

36

T116057

Fitting

1шт.

37

15H582

Fitting

3/4"

1шт.

38

15H607

Pipe Bushing

1/4"

1шт.

Выбрано товаров: 44