Запчасти John Deere 30LCR 339 - CONTROL VALVE 3360 Hydraulic System

Схема запчастей John Deere 30LCR - 339 - CONTROL VALVE 3360 Hydraulic System
FIT
1:1
100%

Артикул

Название

Примечание

Количество

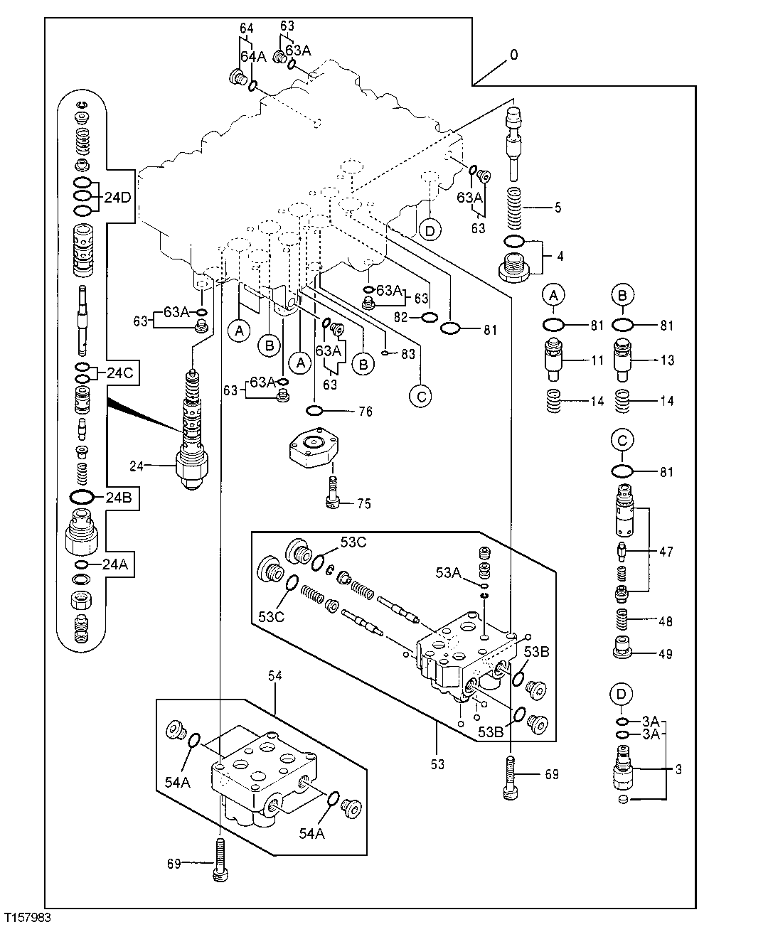
0

4386888

Hyd Actuated Control Valve

(SUB FOR AT183687)(CONTAINS ALL ITEMS ON THIS PAGE - ADDITIONAL COMPONENTS LISTED ON PREVIOUS AND FOLLOWING PAGES )

1шт.

3

0667810

Fitting Plug

(SUB FOR AT213669)

1шт.

3A

CH11570

O-Ring

2шт.

4

0667811

Fitting Plug

(SUB FOR AT213670)

1шт.

4A

AT318035

O-Ring

(SUB FOR 4506424, TH100055)

1шт.

5

0667812

Spring

(SUB FOR AT213671)

1шт.

11

0685101

Poppet

(SUB FOR AT217920)

3шт.

13

0667813

Poppet

(SUB FOR AT213672)

2шт.

14

0667718

Spring

(SUB FOR AT213663)

5шт.

24

4372034

Pressure Relief Valve

(SUB FOR AT214282)(FRO NT PUMP CONTROL VALVE)

1шт.

24A

R394R

O-Ring

(SUB FOR AT185415 OR 4154237)

1шт.

24B

R29936

O-Ring

29.743 X 2.946 mm (1.171" X 0.116") (SUB FOR 4510188)

1шт.

24C

T111819

O-Ring

14.800 X 2.400 mm (0.583" X 3/32") (SUB FOR 4506415)

2шт.

24D

CH11563

Packing

(SUB FOR Z955655)

3шт.

47

0667818

Poppet

(SUB FOR AT217914)

1шт.

48

0667721

Spring

(SUB FOR AT213666)

1шт.

49

0667722

Spacer

(SUB FOR AT213667)

1шт.

53

0667819

Housing

(SUB FOR AT217915)

1шт.

53A

4506406

O-Ring

5.800 X 1.900 mm (0.228" X 0.075") (SUB FOR TH104587)

1шт.

53B

M800650

Packing

(SUB FOR Z957366, 957366)

2шт.

53C

4506418

O-Ring

(SUB FOR TH100061)

2шт.

54

0685202

Housing

(SUB FOR AT217922)

1шт.

54A

M800650

Packing

(SUB FOR Z957366, 957366)

4шт.

63

0667713

Fitting Plug

(SUB FOR AT213660)

6шт.

63A

4506408

O-Ring

(SUB FOR TH101490)

1шт.

64

0667817

Fitting Plug

(SUB FOR AT213675)

1шт.

64A

M800650

Packing

(SUB FOR Z957366, 957366)

1шт.

69

0667714

Screw

(SUB FOR AT213661)

12шт.

75

0413619

Bolt

(SUB FOR AT154591)

4шт.

76

A4730R

O-Ring

24.994 X 3.531 mm (63/64" X 0.139")

1шт.

81

CH17886

Packing

(SUB FOR TH111690 ) (SUB FOR 4509182)

7шт.

82

CH12329

Packing

1шт.

83

4506406

O-Ring

5.800 X 1.900 mm (0.228" X 0.075") (SUB FOR TH104587)

1шт.

Выбрано товаров: 33