Запчасти John Deere 30LCR 22 - TIMING GEAR COVER 0402A CAMSHAFT AND VALVE ACTUATING MEANS 4045TT050 4045TT050

Схема запчастей John Deere 30LCR - 22 - TIMING GEAR COVER 0402A CAMSHAFT AND VALVE ACTUATING MEANS 4045TT050 4045TT050
FIT
1:1
100%

Артикул

Название

Примечание

Количество

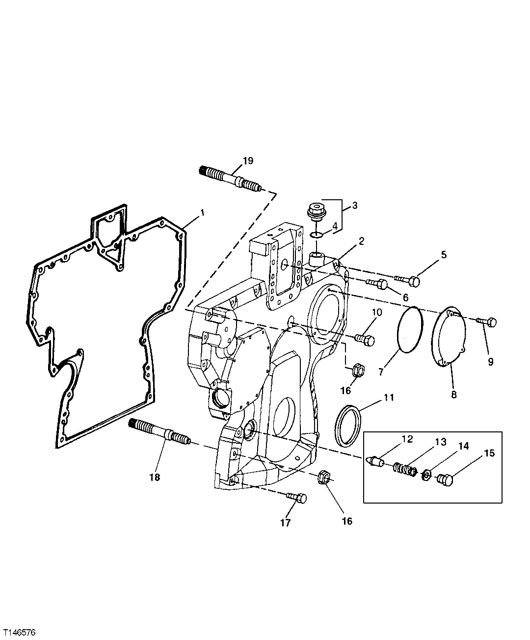
1

R136516

Gasket

1шт.

2

R505462

Cover

(SUB FOR R134531 ) (SU B R504725 AND RE515978)

1шт.

3

RE501938

Plug

(WITHOUT TACHOMETER SENSOR)

1шт.

4

51M7044

O-Ring

17.300 X 2.200 mm

1шт.

5

19M8317

Screw

M8 X 40

6шт.

19M7867

Screw

M8 X 25

1шт.

RE67239

Screw

(WITH PRE-APPLIED SEALANT)

1шт.

6

19M8291

Screw

M8 X 35

1шт.

7

R121424

O-Ring

1шт.

8

R121411

Cover

1шт.

9

19M7775

Screw

M6 X 16

3шт.

10

19M7801

Screw

M8 X 60

1шт.

11

RE516340

Seal

(MARKED RE52346 OR RE50 5515 ) (SUB FOR RE59810)

1шт.

12

R83169

Valve

1шт.

13

R131425

Compression Spring

1шт.

14

A4827R

Washer

1шт.

15

R91692

Fitting Plug

OIL PRESSURE REGULATING

1шт.

16

14M7296

Flange Nut

M10

6шт.

17

19M7979

Screw

M8 X 55

2шт.

18

R123584

Stud

4шт.

19

R134518

Stud

2шт.

Выбрано товаров: 21