Запчасти John Deere 30LCR 46 - WATER PUMP 0417A WATER PUMP 4045TT050 4045TT050

Схема запчастей John Deere 30LCR - 46 - WATER PUMP 0417A WATER PUMP 4045TT050 4045TT050
FIT
1:1
100%

Артикул

Название

Примечание

Количество

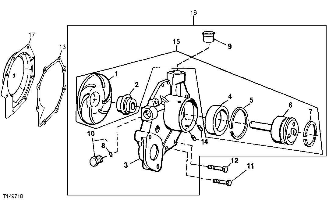
1

Impeller

(MARKED R121036)

1шт.

2

Seal

(MARKED R503509)

1шт.

3

Housing

1шт.

4

Ball Bearing

1шт.

5

Ring

1шт.

6

Shaft

1шт.

7

A364R

Snap Ring

1шт.

8

51M7043

O-Ring

15.300 X 2.200 mm

1шт.

9

R123226

Seal

1шт.

10

RE46685

Fitting Plug

1шт.

11

19M7863

Screw

M6 X 25

5шт.

12

19M7796

Screw

M6 X 30

3шт.

13

R123417

Gasket

1шт.

14

R100369

Filter

2шт.

15

RE70962

Engine Kit

1шт.

16

RE505981

Water Pump

(MARKED R503509)

1шт.

SE501610

Water Pump Reman

(REMAN FOR RE505981)

1шт.

17

RE508566

Insert

(WATER PUMP INSERT REPAIR)

1шт.

Выбрано товаров: 18