Качественные детали и логистика
Оригинальные и аналоговые запчасти с доставкой по России, Казахстану и Беларуси
©2022 PartSell ООО "Система" ИНН 2463123282 ОГРН 1212400004838
Центральный офис: г. Красноярск, Академика Киренского, д.87, пом.4
Телефон: 8 (800) 777-65-74 Email: zakaz@partsell.ru
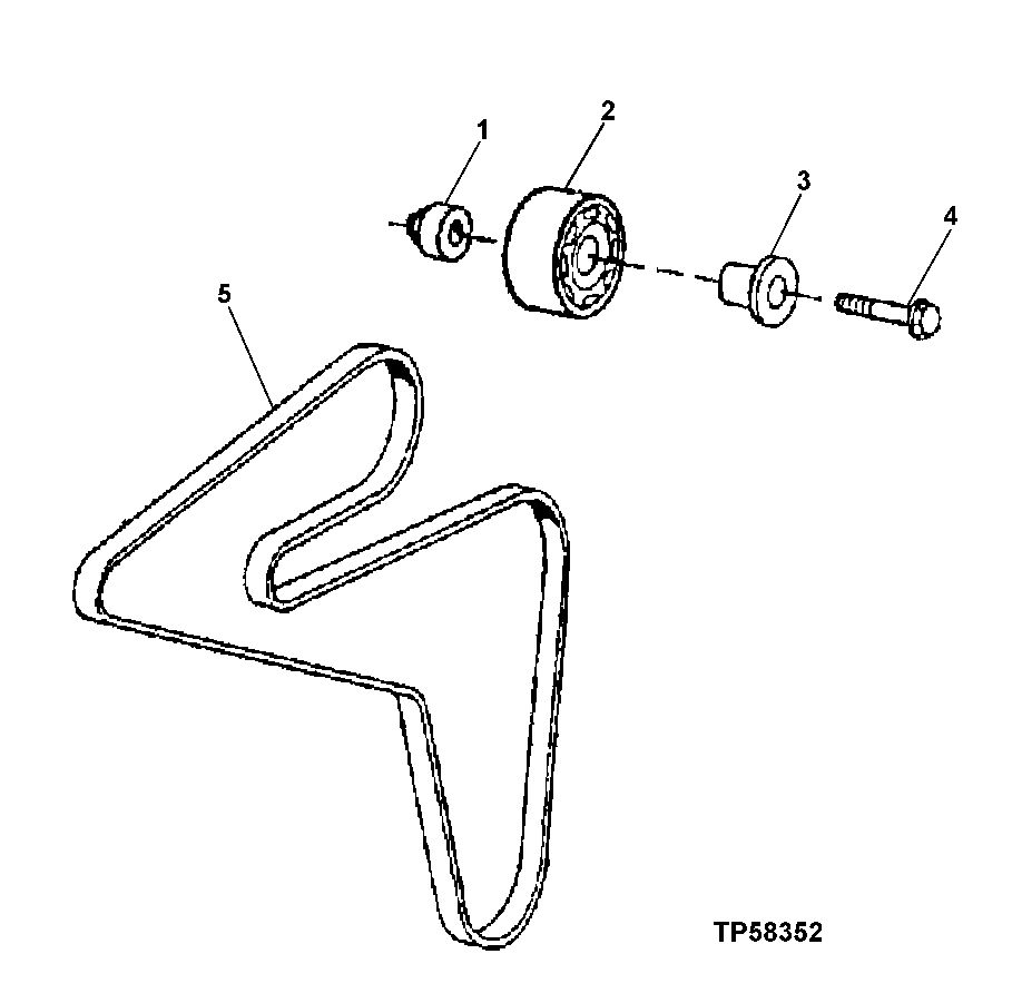
57 - FAN DRIVE BELT AND PULLEY
№
Артикул
Название
Примечание
Количество
1
R500320
Spacer
1шт.
2
RE505264
Pulley
3
R502079
Sleeve
4
19M7808
Screw
M10 X 65
5
R123442
V-Belt
Выбрано товаров: 5