Запчасти John Deere 5 2 - BATTERY AND CABLES 1671 - ELECTRICAL SYSTEM 16

Схема запчастей John Deere 5 - 2 - BATTERY AND CABLES 1671 - ELECTRICAL SYSTEM 16
FIT
1:1
100%

Артикул

Название

Примечание

Количество

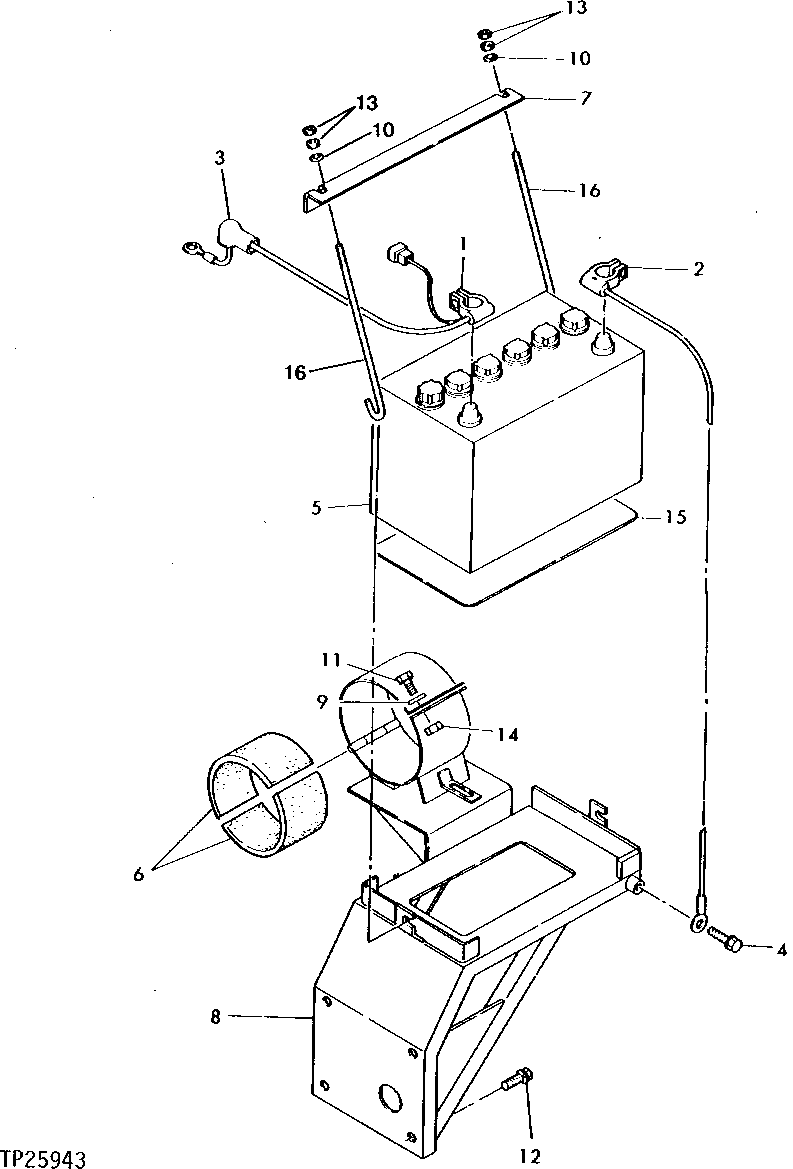
1

T110089

CABLE

1шт.

2

AT326582

BATTERY CABLE

(SUB FOR MG782708) (SUB FOR T110386)

1шт.

3

CH10486

COVER

1шт.

4

19M7783

SCREW

M10 X 16, (SUB FOR T110460)

1шт.

5

TY21764

DRY CHARGED BATTERY

(SUB FOR TY6113)

1шт.

6

T110014

ISOLATOR

2шт.

7

RETAINER

( T110065 NO LONGER AVAILABLE FOR SERVICE)

1шт.

8

AT110496

MOUNTING PARTS

1шт.

9

24M7055

WASHER

8.400 X 16 X 1.600 MM

2шт.

10

24M7024

WASHER

9 X 28 X 3 MM

2шт.

11

12M7056

LOCK WASHER

8 MM, (SUB FOR 12M7065)

2шт.

19M7407

CAP SCREW

M8 X 25

2шт.

12

12M7066

LOCK WASHER

10 MM

4шт.

19M7166

CAP SCREW

M10 X 20

4шт.

13

14M7273

NUT

M8

4шт.

14

14M7273

NUT

M8

2шт.

15

T110621

ISOLATOR

1шт.

16

T110623

HOOK BOLT

2шт.

Выбрано товаров: 18