Запчасти John Deere 5 18 - BOOM CYLINDER 2160 - MAIN HYDRAULIC SYSTEM 21

Схема запчастей John Deere 5 - 18 - BOOM CYLINDER 2160 - MAIN HYDRAULIC SYSTEM 21
FIT
1:1
100%

Артикул

Название

Примечание

Количество

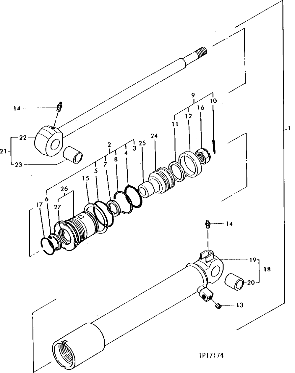
1

AT110596

HYDRAULIC CYLINDER

1шт.

2

AT110949

SEAL KIT

1шт.

3

11M7032

COTTER PIN

5 X 50 MM, (SUB FOR T110420)

1шт.

4

T111314

O-RING

1шт.

5

AT264318

O-RING

(SUB FOR T110446)

1шт.

6

T110505

SEAL

1шт.

7

T110506

PACKING

1шт.

8

T110582

BACK-UP RING

1шт.

9

AT110950

SEAL KIT

1шт.

10

11M7032

COTTER PIN

5 X 50 MM, (SUB FOR T110420)

1шт.

11

T110563

SEAL

1шт.

12

T111346

HOSE

1шт.

13

15H559

PIPE PLUG

1/4"

1шт.

14

TH100074

LUBRICATION FITTING

(SUB FOR T110449 OR CH11575)

2шт.

15

T110494

WASHER

1шт.

16

T110504

NUT

1шт.

17

T110511

RING

1шт.

18

AT110951

HYDRAULIC CYLINDER BARREL

1шт.

19

BARREL

(SUB AT110951)

1шт.

20

T110546

BUSHING

1шт.

21

AT110952

ROD

1шт.

22

ROD

(SUB AT110952)

1шт.

23

T110546

BUSHING

1шт.

24

T111338

PISTON

1шт.

25

T111345

PLUNGER

1шт.

26

AT110236

HYDR. CYLINDER ROD GUIDE

1шт.

27

T110571

BUSHING

1шт.

Выбрано товаров: 0