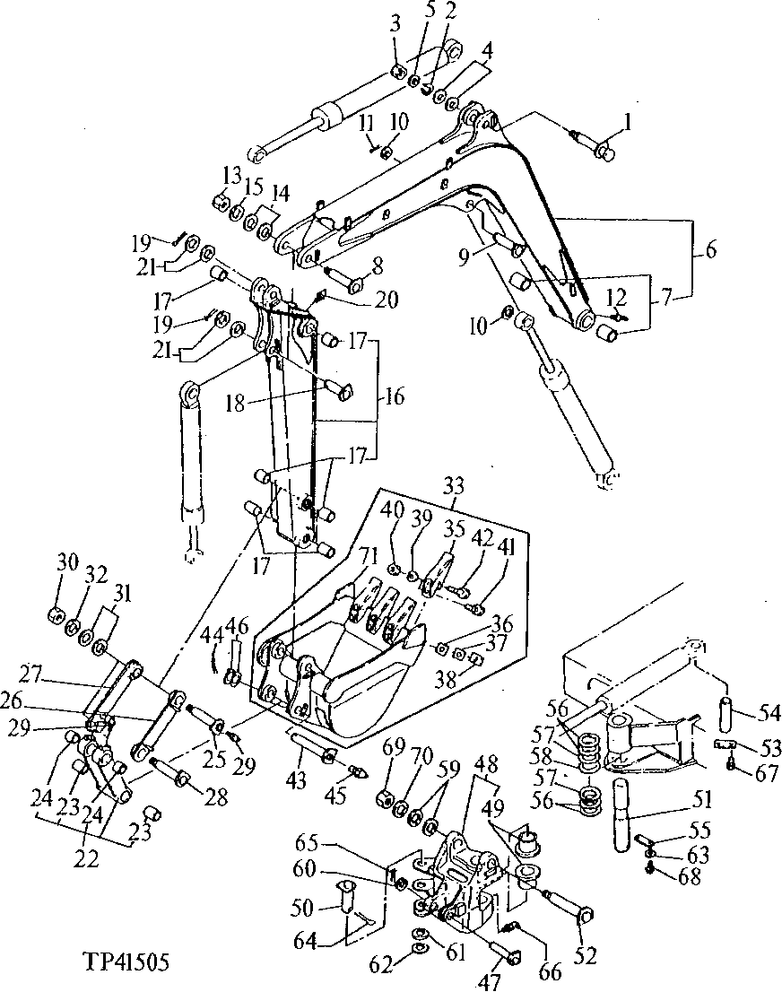
Запчасти John Deere 5 2 - ARM, BOOM, BUCKET AND LINKAGE 3302 - BACKHOE 33

Схема запчастей John Deere 5 - 2 - ARM, BOOM, BUCKET AND LINKAGE 3302 - BACKHOE 33
FIT
1:1
100%

Артикул

Название

Примечание

Количество

1

AT110393

PIN FASTENER

1шт.

2

T111306

RING

1шт.

3

T110490

NUT

1шт.

4

24H1535

WASHER

(SUB FOR AT110608) (USE IF AVAILABLE)

1шт.

24H1535

WASHER

38.887 X 56.363 X 0.813 MM (1-17/32" X 2-7/32" X 0.032") (SUB FOR AT110608)

1шт.

5

T110935

WASHER

1шт.

6

AT110460

EXCAVATOR BOOM

1шт.

7

T111009

BUSHING

2шт.

8

AT110461

PIN FASTENER

1шт.

9

AT110462

PIN FASTENER

1шт.

10

T110049

WASHER

2шт.

11

11M7073

COTTER PIN

8 X 63 MM, (SUB FOR T110424)

1шт.

12

T116334

LUBRICATION FITTING

(SUB FOR T110450 OR TH100075)

1шт.

13

T110490

NUT

1шт.

14

24H1535

WASHER

(SUB FOR AT110608) (USE IF AVAILABLE)

1шт.

24H1535

WASHER

38.887 X 56.363 X 0.813 MM (1-17/32" X 2-7/32" X 0.032") (SUB FOR AT110608)

1шт.

15

T110935

WASHER

1шт.

16

AT110155

ARM

1шт.

17

T111015

BUSHING

6шт.

18

AT110463

PIN FASTENER

2шт.

19

11M7056

COTTER PIN

8 X 50 MM, (SUB FOR T110927)

2шт.

20

T116334

LUBRICATION FITTING

(SUB FOR T110450 OR TH100075)

1шт.

21

24H1535

WASHER

(SUB FOR AT110608) (USE IF AVAILABLE)

2шт.

24H1535

WASHER

38.887 X 56.363 X 0.813 MM (1-17/32" X 2-7/32" X 0.032") (SUB FOR AT110608)

2шт.

22

AT110514

LINK

1шт.

23

T111015

BUSHING

2шт.

24

T111017

BUSHING

2шт.

25

AT110466

PIN FASTENER

1шт.

26

AT110390

ARM

1шт.

27

AT110391

ARM

1шт.

28

AT110392

PIN FASTENER

(USE IF AVAILABLE)

1шт.

29

TH100074

LUBRICATION FITTING

(SUB FOR T110449 OR CH11575)

3шт.

30

T110490

NUT

2шт.

31

24H1535

WASHER

(SUB FOR AT110608) (USE IF AVAILABLE)

2шт.

24H1535

WASHER

38.887 X 56.363 X 0.813 MM (1-17/32" X 2-7/32" X 0.032") (SUB FOR AT110608)

2шт.

32

T110935

WASHER

2шт.

33

EXCAVATOR BUCKET

( AT111012 NO LONGER AVAILABLE)

1шт.

34

T114893

CUTTING EDGE

AUXILIARY, BUCKET LIP (NOT ILLUSTRATED)

1шт.

35

T110058

BUCKET TOOTH ADAPTER

4шт.

36

T110059

SHIM

4шт.

37

T110060

SHIM

2шт.

38

T110061

STRAP

8шт.

39

12M7068

LOCK WASHER

14 MM

8шт.

40

T110471

NUT

8шт.

41

19M8546

CAP SCREW

M14 X 40, (SUB FOR T110486)

4шт.

42

T110487

BOLT

4шт.

43

AT110078

PIN

LINK TO BUCKET AND ARM TO BUCKET

2шт.

44

11M7056

COTTER PIN

8 X 50 MM, (SUB FOR T110927)

2шт.

45

TH100074

LUBRICATION FITTING

(SUB FOR T110449 OR CH11575)

2шт.

46

24H1535

WASHER

(SUB FOR AT110608) (USE IF AVAILABLE)

2шт.

24H1535

WASHER

38.887 X 56.363 X 0.813 MM (1-17/32" X 2-7/32" X 0.032") (SUB FOR AT110608)

2шт.

47

AT110462

PIN FASTENER

1шт.

48

AT110157

BRACKET

1шт.

49

T110190

BUSHING

2шт.

Выбрано товаров: 54