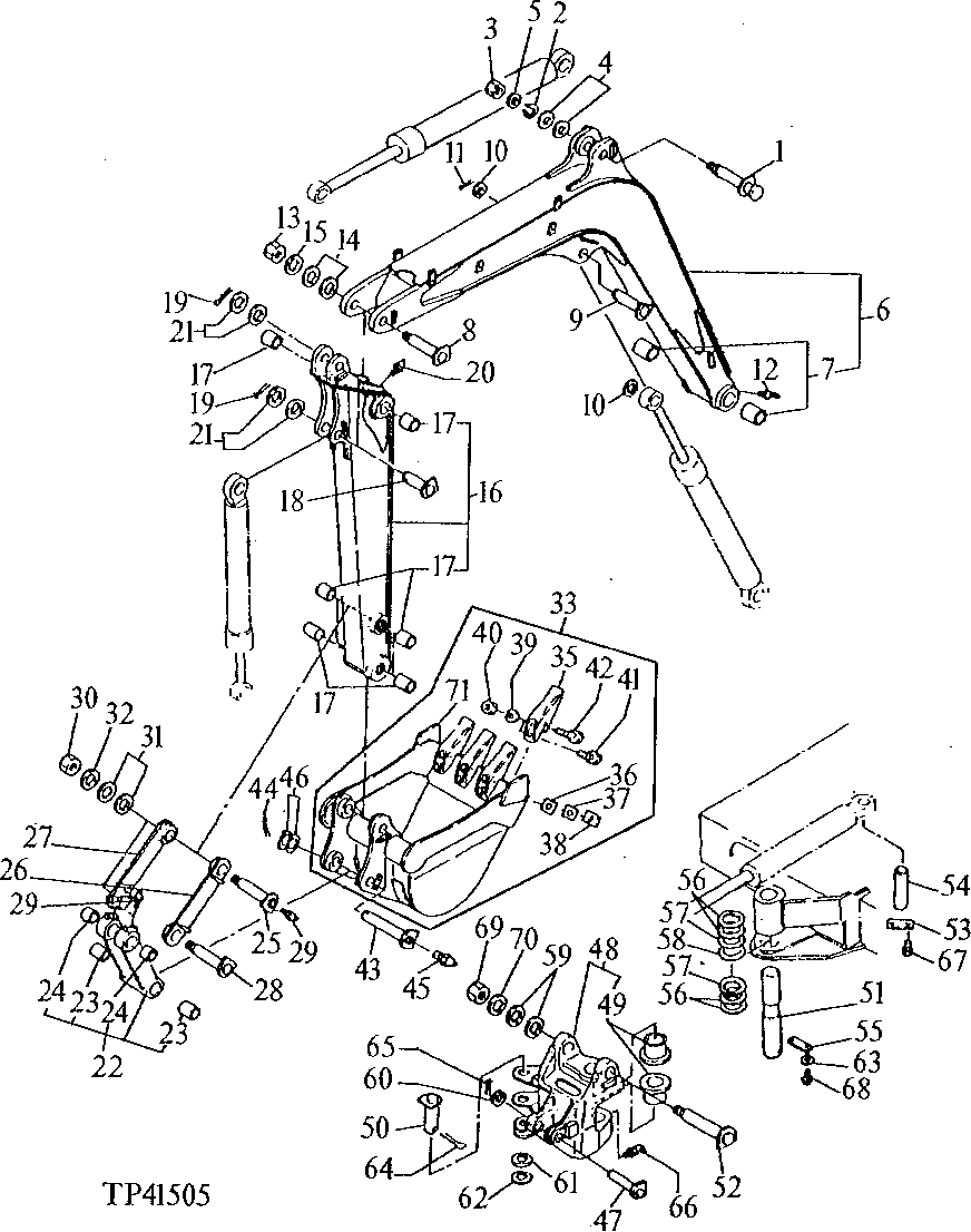
Запчасти John Deere 5 4 - ARM, BOOM, BUCKET AND LINKAGE 3302 - BACKHOE 33

Схема запчастей John Deere 5 - 4 - ARM, BOOM, BUCKET AND LINKAGE 3302 - BACKHOE 33
FIT
1:1
100%

Артикул

Название

Примечание

Количество

50

AT110518

PIN FASTENER

1шт.

51

T111127

PIN FASTENER

1шт.

52

AT110464

PIN FASTENER

1шт.

53

T110082

PLATE

1шт.

54

T111022

PIN FASTENER

1шт.

55

T110043

PLATE

1шт.

56

T110045

WASHER

4шт.

57

T110046

WASHER

2шт.

58

T110048

WASHER

1шт.

59

T110049

WASHER

2шт.

60

T110049

WASHER

2шт.

61

T110050

WASHER

1шт.

62

T110051

WASHER

1шт.

63

24M7047

WASHER

13 X 24 X 2.500 MM

2шт.

Выбрано товаров: 14