Запчасти John Deere 5 2 - SWING DRIVE GEAR CASE 4360 - SWING, ROTATION OR PIVOTING SYSTEM 43

Схема запчастей John Deere 5 - 2 - SWING DRIVE GEAR CASE 4360 - SWING, ROTATION OR PIVOTING SYSTEM 43
FIT
1:1
100%

Артикул

Название

Примечание

Количество

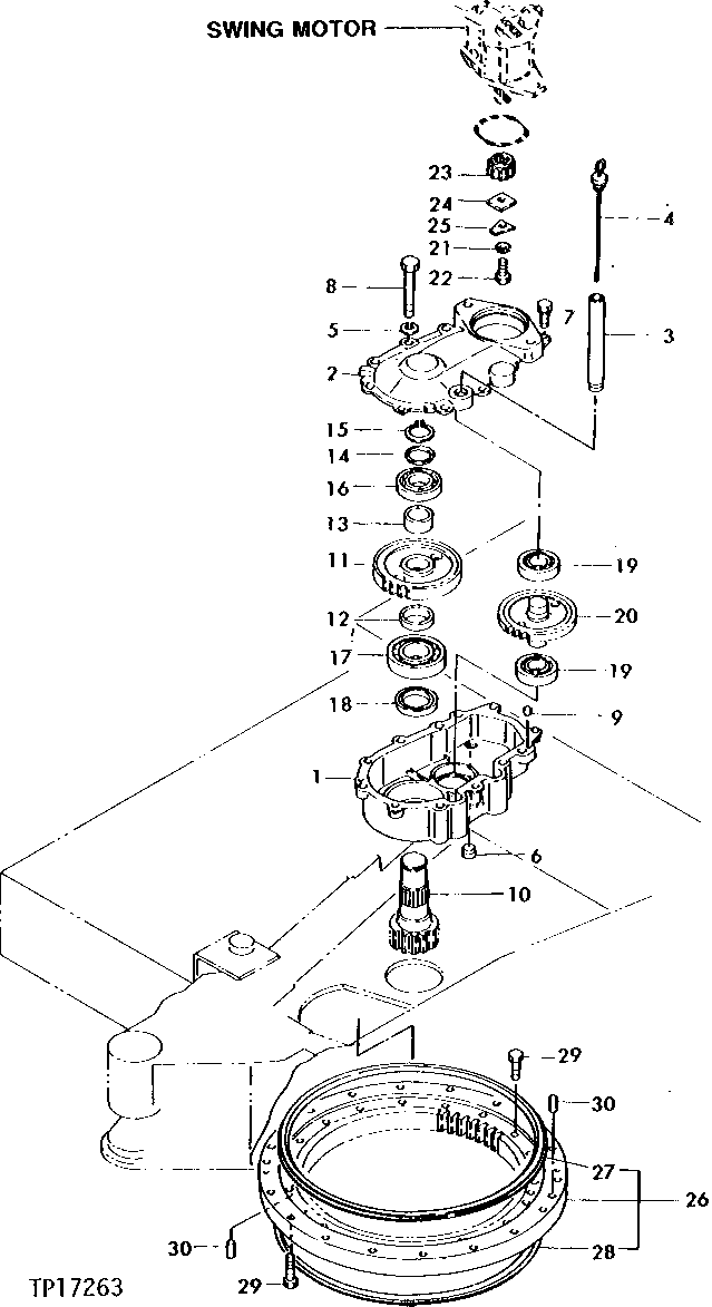
1

T110128

PUMP

1шт.

2

T110129

COVER

1шт.

3

T110130

LINE

(USE IF AVAILABLE)

1шт.

4

T110131

LEVEL GAUGE

1шт.

5

12M7068

LOCK WASHER

14 MM

5шт.

6

T110430

PLUG

1шт.

7

12M7058

LOCK WASHER

12 MM, (SUB FOR 12M7067)

5шт.

19M8011

CAP SCREW

M12 X 30

5шт.

8

T110461

BOLT

5шт.

9

T110482

PIN

2шт.

10

T110132

PLANETARY ASSEMBLY

1шт.

11

T110133

GEAR

1шт.

12

T110076

BUSHING

1шт.

13

T110077

BUSHING

1шт.

14

T110078

WASHER

1шт.

15

40M7047

SNAP RING

(SUB FOR CH15041)

1шт.

16

JD7692

BALL BEARING

(SUB FOR CH13509, THIS APPLICATION) (SUB FOR JD9471)

1шт.

17

T110432

CYLINDRICAL ROLLER BEARING

1шт.

18

T110619

SEAL

1шт.

19

T110235

BALL BEARING

2шт.

20

T110134

GEAR

1шт.

21

CH11981

WASHER

(SUB FOR T110396)

1шт.

22

T110407

BOLT

1шт.

23

T110135

GEAR

1шт.

24

T110136

SPACER

1шт.

25

T110137

STOP

1шт.

26

AT110043

SWING BEARING

1шт.

27

T111038

SEAL

1шт.

28

T111039

SEAL

1шт.

29

T110138

BOLT

32шт.

30

T110139

PIN

4шт.

Выбрано товаров: 31