Запчасти John Deere 5 8 - ROLLERS AND DRIVE SPROCKET 130 - TRACKS 1

Схема запчастей John Deere 5 - 8 - ROLLERS AND DRIVE SPROCKET 130 - TRACKS 1
FIT
1:1
100%

Артикул

Название

Примечание

Количество

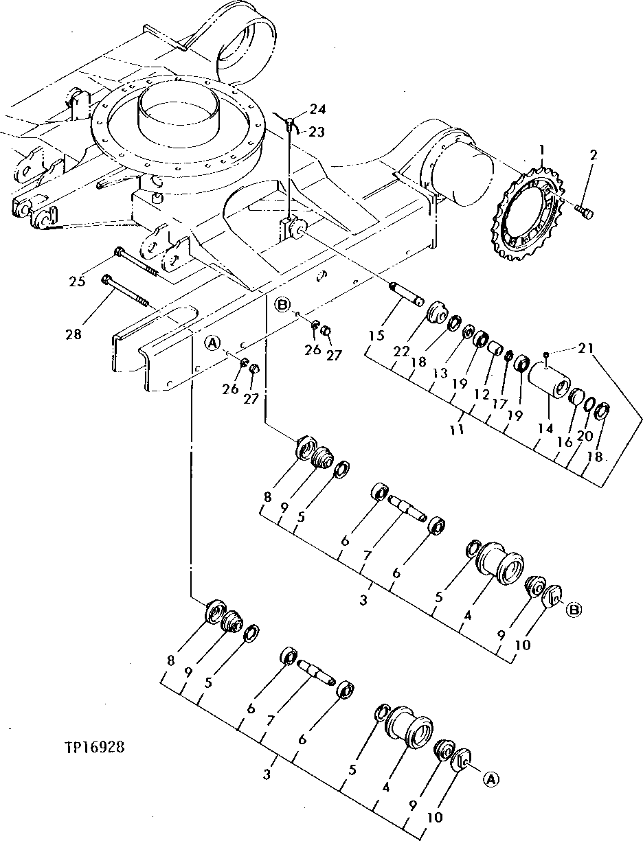
1

T110098

CHAIN SPROCKET

2шт.

2

19M7744

CAP SCREW

M12 X 35, (SUB FOR M801662, ALONG WITH 12M7065)

18шт.

12M7056

LOCK WASHER

8 MM, (SUB FOR 12M7065)

18шт.

3

AT110927

ROLLER

8шт.

4

ROLLER CARRIAGE

( AT110387 NO LONGER AVAILABLE FOR SERVICE)

1шт.

5

40M7043

SNAP RING

(SUB FOR CH15010)

2шт.

6

JD30067

BALL BEARING

(SUB FOR T111334)

2шт.

7

T111349

SHAFT

1шт.

8

T111350

COVER

(USE IF AVAILABLE)

1шт.

9

T110815

SEAL

2шт.

10

T111351

COVER

1шт.

11

AT110928

ROLLER

2шт.

12

T110372

BUSHING

1шт.

13

T110373

WASHER

1шт.

14

T110071

ROLLER

1шт.

15

T110072

SHAFT

1шт.

16

T110073

COVER

1шт.

17

CH11481

RING

1шт.

18

CH11487

RING

2шт.

19

CH11550

BALL BEARING

2шт.

20

T110433

O-RING

1шт.

21

94-2010

FITTING PLUG

(SUB FOR T110620) (SUB FOR TH100689)

1шт.

22

T111354

SEAL

1шт.

23

T110425

WIRE

2шт.

24

T110481

BOLT

2шт.

25

T110057

BOLT

6шт.

26

12M7069

LOCK WASHER

16 MM

8шт.

27

T110472

NUT

8шт.

28

T110070

BOLT

2шт.

Выбрано товаров: 29