Запчасти John Deere 5 2 - ENGINE OIL PAN 407 - ENGINE 4

Схема запчастей John Deere 5 - 2 - ENGINE OIL PAN 407 - ENGINE 4
FIT
1:1
100%

Артикул

Название

Примечание

Количество

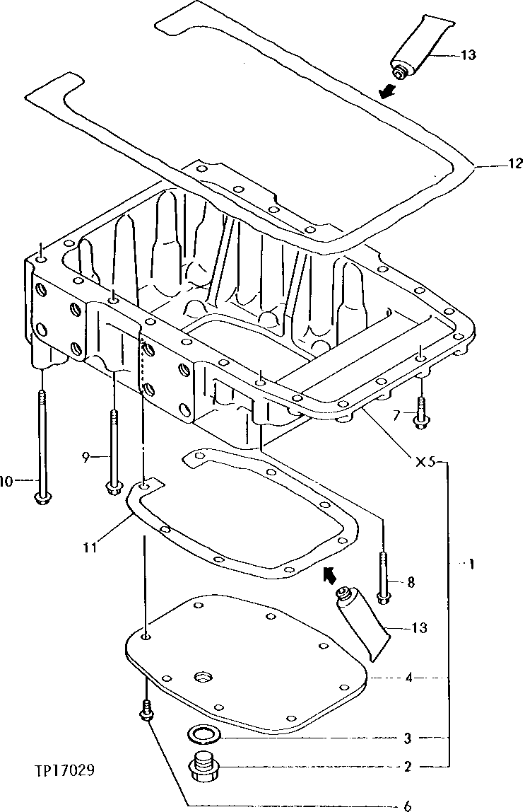
1

AT110856

OIL PAN

1шт.

2

T111565

PLUG

(SUB FOR CH16723)

1шт.

3

M806433

WASHER

(SUB FOR CH16727)

1шт.

4

T111566

OIL PAN

1шт.

5

OIL PAN

(SUB AT110856)

1шт.

6

CH19137

BOLT

8шт.

7

19M7867

SCREW

M8 X 25

6шт.

8

19M7800

SCREW

M8 X 50

4шт.

9

CH19136

BOLT

8шт.

10

T111562

BOLT

4шт.

11

SEALANT

(MAKE FROM M64850)

1шт.

12

SEALANT

(MAKE FROM M64850)

1шт.

13

M64850

SEALANT

ARшт.

Выбрано товаров: 13