Запчасти John Deere 5 6 - FUEL INJECTION NOZZLE 413 - ENGINE 4

Схема запчастей John Deere 5 - 6 - FUEL INJECTION NOZZLE 413 - ENGINE 4
FIT
1:1
100%

Артикул

Название

Примечание

Количество

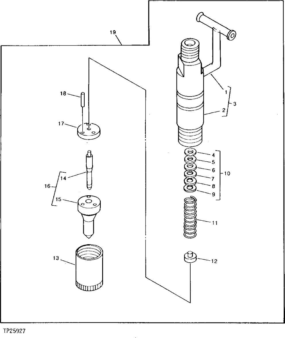
1

FUEL LINE

(SUB AM875330) ( AT110905 NO LONGER AVAILABLE)

1шт.

2

HOLDER

(SUB AM875330)

1шт.

3

AM875330

NOZZLE HOLDER

1шт.

4

SHIM

(SUB AM875069) 0.4T

1шт.

5

SHIM

(SUB AM875069) 0.5T

1шт.

6

SHIM

(SUB AM875069) 0.6T

1шт.

7

SHIM

(SUB AM875069) 0.7T

1шт.

8

SHIM

(SUB AM875069) 0.8T

1шт.

9

SHIM

(SUB AM875069) 0.15T

1шт.

10

AM875069

SHIM

1шт.

11

M801096

SPRING

1шт.

12

M800212

RETAINER

1шт.

13

M801093

NUT

1шт.

14

NOZZLE

(SUB AM875412)

1шт.

15

NOZZLE

(SUB AM875412)

1шт.

16

AM875412

NOZZLE

1шт.

17

M801097

VALVE SEAT INSERT

1шт.

18

M801098

PIN

3шт.

19

AM875411

NOZZLE

3шт.

Выбрано товаров: 19