Запчасти John Deere 5 2 - ENGINE SPEED CONTROL 515 - ENGINE AUXILIARY SYSTEM 5

Схема запчастей John Deere 5 - 2 - ENGINE SPEED CONTROL 515 - ENGINE AUXILIARY SYSTEM 5
FIT
1:1
100%

Артикул

Название

Примечание

Количество

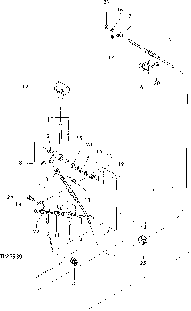
1

AT110394

LEVER

1шт.

2

T110633

BUSHING

2шт.

3

AT110086

SUPPORT

1шт.

4

T110086

BOLT

1шт.

5

T111024

PUSH PULL CABLE

1шт.

6

AT111739

RETAINER

(SUB FOR AT110395)

1шт.

7

T110012

PIVOT

1шт.

8

T110013

UNIVERSAL JOINT

1шт.

9

T110007

WASHER

1шт.

10

14M7177

NUT

M12, (SUB FOR T110001)

1шт.

11

T110385

SPRING

1шт.

12

T110795

GRIP

1шт.

13

T110002

PIN

1шт.

14

24M7055

WASHER

8.400 X 16 X 1.600 MM, (SUB FOR T111605)

2шт.

15

24M7047

WASHER

13 X 24 X 2.500 MM, (SUB FOR T111606)

2шт.

16

12M7064

LOCK WASHER

5 MM

1шт.

17

CH11490

RING

1шт.

18

11M7078

COTTER PIN

2 X 20 MM, (SUB FOR T111607 AND 11M7010)

1шт.

19

11M7015

COTTER PIN

3.200 X 25 MM, (SUB FOR T111608) (SUB FOR 11M7059)

1шт.

20

12M7056

LOCK WASHER

8 MM, (SUB FOR 12M7065)

2шт.

19M7932

CAP SCREW

M8 X 16

2шт.

21

14M7272

NUT

M6, (SUB FOR CH17809)

1шт.

22

14M7274

NUT

M10

2шт.

23

T110618

DISK SPRING

2шт.

24

12M7056

LOCK WASHER

8 MM, (SUB FOR 12M7065)

2шт.

19M7881

SCREW

M8 X 20

2шт.

25

T110622

GROMMET

1шт.

Выбрано товаров: 27